样品
成果详情
| 项目简介 | |||||
|---|---|---|---|---|---|
| 技术简介: | |||||
| 专利类型: | 实用新型 | 专利申请号: | CN202121384122.7 | 公开号: | CN215608019U |
| 专利权人: | 南方医科大学珠江医院 | 发明设计人: | 蔡少如;葛梅;唐芳;徐永丽;刘丽芳 | ||
| 所属领域: | |||||
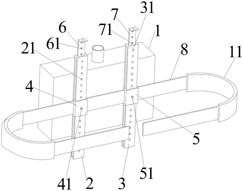
| 摘要: | 本公开属于医疗器械领域,具体涉及一种便携式可穿戴胸腹腔引流袋,包括引流袋本体,引流袋本体背面固定有第一滑槽和第二滑槽;第一滑槽和第二滑槽上分别匹配有第一滑块和第二滑块;第一滑块的上端部设有第一弹性条,第一弹性条上开有第一固定孔,第一滑块上设有第一固定柱;第二滑块上端部设有第二弹性条,第二弹性条上开有多个第二固定孔,第二滑块上设有第二固定柱;第一滑块上设有调节带,调节带穿过第一滑槽和第二滑槽,调节带与第一滑块和第二滑块均滑动连接;调节带的滑动方向与第一滑块的滑动方向垂直;调节带一端部设有圆毛面,调节带的另一端部设有刺毛面。该便携式可穿戴胸腹腔引流袋使得患者可以更好的进行日常生活活动。 | ||||
| 补充信息 | |||||
| 转让方式: | 成熟度: | 预估价值: | |||
| 市场前景: | |||||