样品
成果详情
| 项目简介 | |||||
|---|---|---|---|---|---|
| 技术简介: | |||||
| 专利类型: | 实用新型 | 专利申请号: | CN202023025241.1 | 公开号: | CN214455953U | 
| 专利权人: | 南方医科大学南方医院 | 发明设计人: | 何朗明;周进;徐倩;缪景霞 | ||
| 所属领域: | |||||
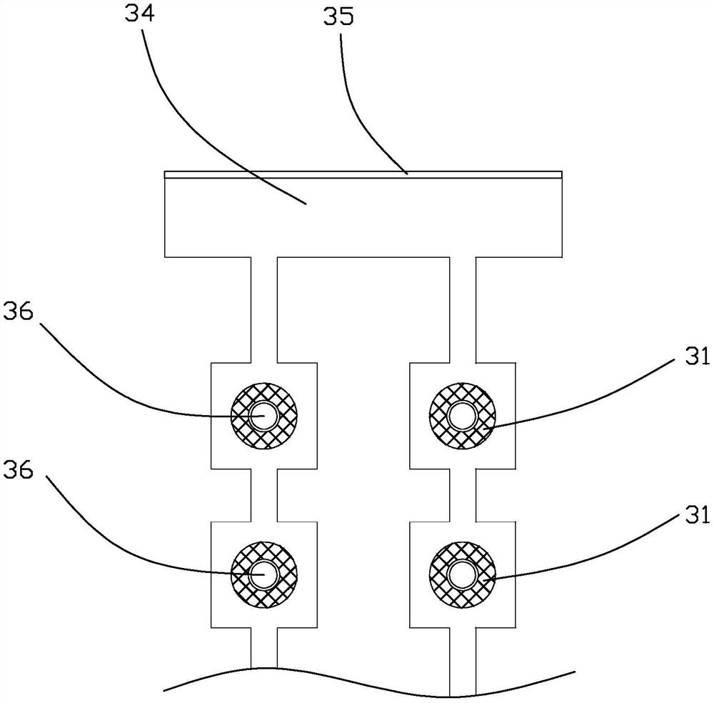
| 摘要: | 本实用新型提出一种电梯按钮装置及电梯,电梯按钮装置包括按钮面板、电梯按钮、消毒模块,按钮面板开设有第一安装孔,电梯按钮包括按钮帽和按钮本体,按钮帽设置在第一安装孔中,按钮帽连接按钮本体,按钮帽开设有出液孔,消毒模块设置在按钮面板的背面,消毒模块包括吸附组件,吸附组件用于储存消毒液,吸附组件用于接触按钮帽。通过设置消毒模块,消毒模块中灌入消毒液,按动电梯按钮,消毒液通过出液孔浸润按钮帽的正面,从而对电梯按钮进行实时消毒。 | ||||
| 补充信息 | |||||
| 转让方式: | 成熟度: | 预估价值: | |||
| 市场前景: | |||||