样品
成果详情
| 项目简介 | |||||
|---|---|---|---|---|---|
| 技术简介: | |||||
| 专利类型: | 实用新型 | 专利申请号: | CN201921810931.2 | 公开号: | CN211156760U | 
| 专利权人: | 南方医科大学南方医院 | 发明设计人: | 李园芳;廖卫华;宋霞丽;孙杏娣 | ||
| 所属领域: | |||||
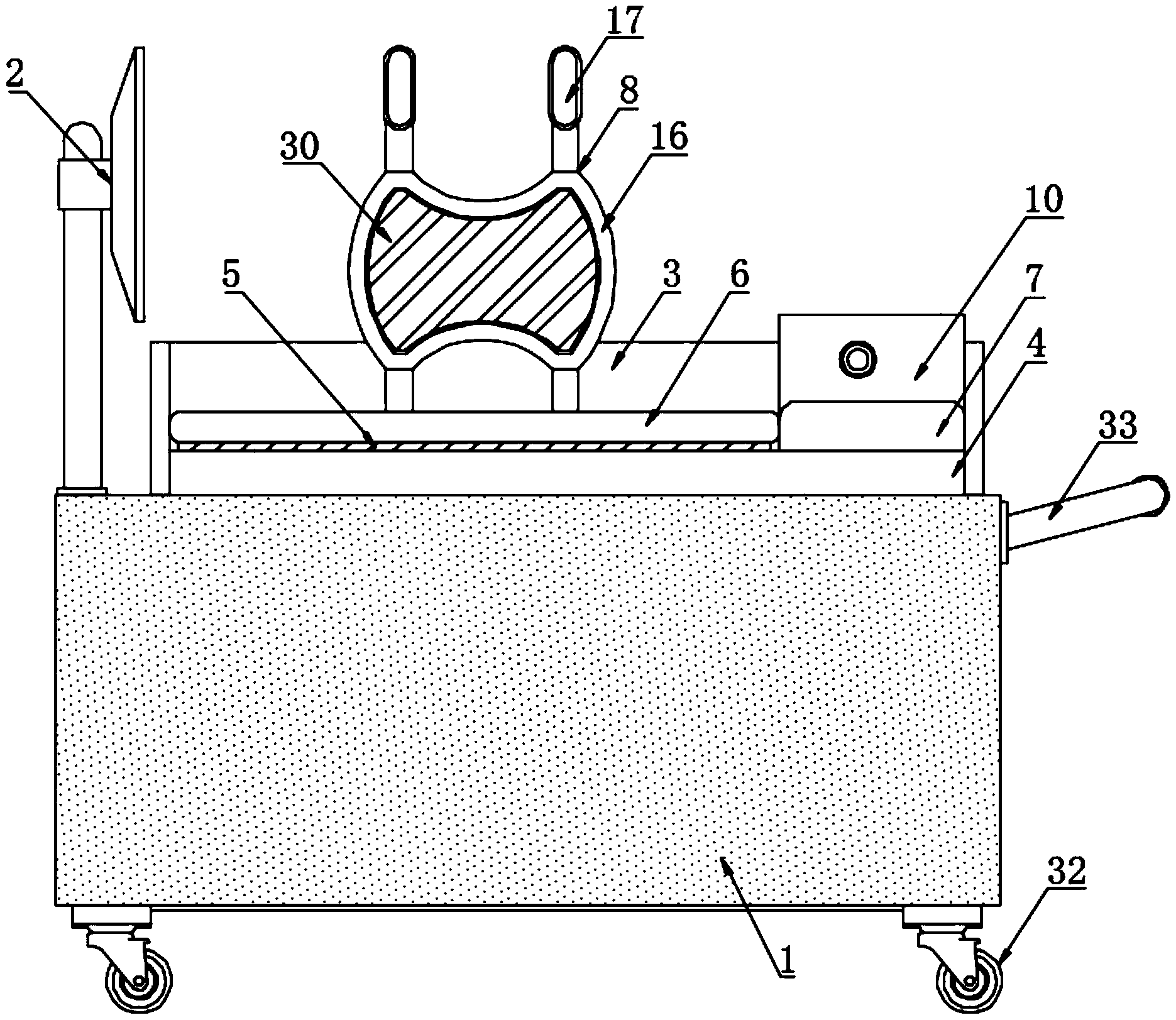
| 摘要: | 本实用新型公开了一种眼底检查婴儿车,具体涉及医疗器械技术领域,包括机体,所述机体顶部焊接有显示屏,所述显示屏一侧设置有挡框,所述挡框内侧设置有底板,所述底板顶部设置有温敷毯,所述温敷毯顶部设置有棉垫,所述棉垫一侧设置有头枕,所述底板上设置有固定机构;所述固定机构包括包覆布和两个固定块,两个所述固定块内部均设置有活动槽,所述活动槽内部设置有夹块,所述夹块一侧粘接有亚克力板。本实用新型通过设有固定机构,使本实用新型仅需一个人便可对婴儿进行检查,有效减少了检查时所需的人手,大大节省了人力资源,使得本实用新型的实际使用效果较好,实用性较高,便于推广使用。 | ||||
| 补充信息 | |||||
| 转让方式: | 成熟度: | 预估价值: | |||
| 市场前景: | |||||