样品
成果详情
| 项目简介 | |||||
|---|---|---|---|---|---|
| 技术简介: | |||||
| 专利类型: | 实用新型 | 专利申请号: | CN202420419794.4 | 公开号: | CN222110713U |
| 专利权人: | 南方医科大学珠江医院 | 发明设计人: | 易小林;唐晓霞;陈飞;钟选红 | ||
| 所属领域: | |||||
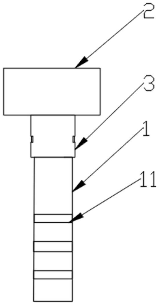
| 摘要: | 本实用新型公开了一种一次性消毒棒,包括装有消毒液的握杆、消毒棉和连接头;所述消毒棉安装在所述连接头的一端,所述握杆旋转连接在所述连接头的另一端,所述握杆靠近所述连接头的一端设置有第一圆孔,所述连接头上设置有贯穿所述连接头的第二圆孔,所述第一圆孔和第二圆孔连通配合。本实用新型具有使用方便、提高消毒效率和节约消毒液的优点。 | ||||
| 补充信息 | |||||
| 转让方式: | 成熟度: | 预估价值: | |||
| 市场前景: | |||||