样品
成果详情
| 项目简介 | |||||
|---|---|---|---|---|---|
| 技术简介: | |||||
| 专利类型: | 发明 | 专利申请号: | CN202311403586.1 | 公开号: | CN117152746A |
| 专利权人: | 南方医科大学 | 发明设计人: | 傅蓉;胡雯然 | ||
| 所属领域: | |||||
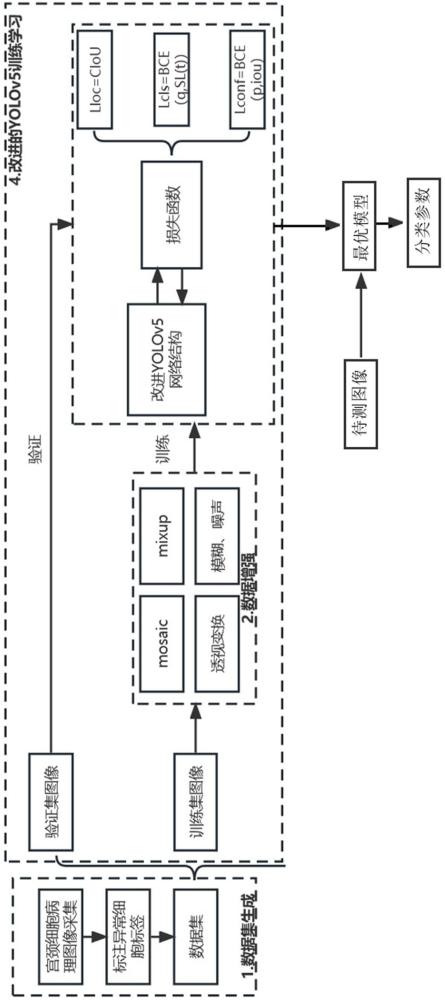
| 摘要: | 一种基于YOLOV5网络的宫颈细胞分类参数获取方法,将待测图像输入最优模型中进行识别得到分类参数;所述最优模型的获取方法具体如下:S1、将数据集中的每张图像中的细胞按类别进行分类并得到应标签,然后再将数据集分为验证集和训练集;S2、对所述训练集多次输入YOLOv5网络模型中进行训练得到最优模型,且所述训练集在每次输入YOLOv5网络模型前均进行数据增强处理;所述分类参数为类别和置信度。该基于YOLOV5网络的宫颈细胞分类参数获取方法,通过数据增强处理可能更好地模拟细胞重叠、遮挡等情况,进而让模型学习到异常细胞的深度特征,本发明的泛化性能更强且对异常细胞识别与分类更精准、高效。 | ||||
| 补充信息 | |||||
| 转让方式: | 成熟度: | 预估价值: | |||
| 市场前景: | |||||