样品
成果详情
| 项目简介 | |||||
|---|---|---|---|---|---|
| 技术简介: | |||||
| 专利类型: | 发明 | 专利申请号: | CN202311542491.8 | 公开号: | CN117258001A |
| 专利权人: | 南方医科大学南方医院 | 发明设计人: | 梁芳果;王镜淇 | ||
| 所属领域: | |||||
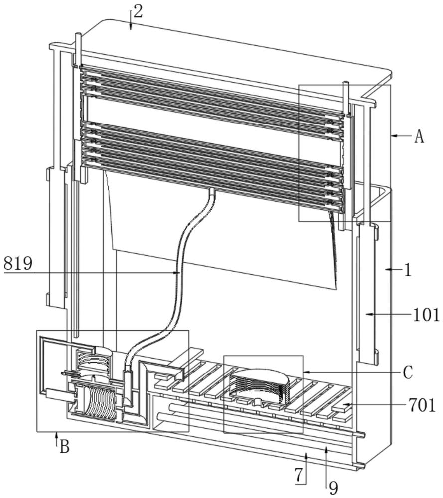
| 摘要: | 本发明涉及消毒设备技术领域,具体为一种急救毯的集中清洁消毒设备,包括消毒箱体以及能够与消毒箱体密封配合的升降箱盖,所述升降箱盖的下表面固定设置有用于限位导向的轨道垂腔,所述升降箱盖的下方设置有呈竖直阵列排布的空心横管,所述空心横管的两端分别插设在轨道垂腔中,所述空心横管的两侧表面贯穿开设有蒸汽喷缝;本发明急救毯的集中清洁消毒设备,相较于传统的高温蒸汽消毒设备,通过空心横管对急救毯进行挂置堆叠,并通过蒸汽喷缝喷出高温蒸汽到多组急救毯两两之间,从而能够使得急救毯的表面均匀受到蒸汽加热,减少传统堆叠放置时出现的死角面积。 | ||||
| 补充信息 | |||||
| 转让方式: | 成熟度: | 预估价值: | |||
| 市场前景: | |||||