样品
成果详情
| 项目简介 | |||||
|---|---|---|---|---|---|
| 技术简介: | |||||
| 专利类型: | 实用新型 | 专利申请号: | CN202322534728.X | 公开号: | CN221154465U |
| 专利权人: | 南方医科大学南方医院 | 发明设计人: | 贾海娜;张玉梅;张策;王丽;彭阳 | ||
| 所属领域: | |||||
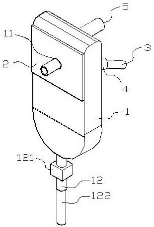
| 摘要: | 本实用新型涉及医疗引流用具领域,尤其涉及一种收集引流管口渗液的可冲洗造口袋,该造口袋可对引流口渗出液起到收集作用,且可以对造口袋进行冲洗。包括袋体,袋体整体呈竖向的长方体状,底部呈下凸的圆弧状,袋体上端部后侧设有开口,开口外侧的袋体上设有粘贴盘,袋体下端部设于排料管,所述开口处设有引流管,引流管上端部向后穿出开口,且在开口处与袋体密封连接,引流管下端部向前穿出袋体且在穿出位置与袋体密封连接;引流管上端部的袋体外侧设有进液管,进液管与袋体相交处密封连接,进液管外端部与冲洗结构相连接;所述排料管与负压管上端部相连接,负压管下端部与负压设备相连接。它操作简单,使用方便,适用于多种患者。 | ||||
| 补充信息 | |||||
| 转让方式: | 成熟度: | 预估价值: | |||
| 市场前景: | |||||