样品
成果详情
| 项目简介 | |||||
|---|---|---|---|---|---|
| 技术简介: | |||||
| 专利类型: | 实用新型 | 专利申请号: | CN202120258195.5 | 公开号: | CN214398680U |
| 专利权人: | 南方医科大学南方医院 | 发明设计人: | 梁洁;王凤娥;杨俊明;王玉享 | ||
| 所属领域: | |||||
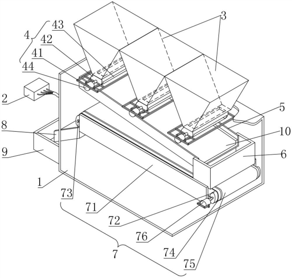
| 摘要: | 本实用新型公开了一种采血管落位传送装置,包括壳体和控制器,在壳体的顶部并排设有若干个用于放置采血管的储管箱且该储管箱的出口端均伸入壳体内;在每一储管箱的出口端下方均设有落管结构,在落管结构的下方设有一前高后低倾斜设置的导管槽且该导管槽与落管结构相连通,在导管槽的后端下方设有引流槽;还包括安装在壳体内且位于引流槽下方的传送结构,传送结构的一端与引流槽相连通,传送结构的另一端与一设在该传送结构下方的输送槽相连通,输送槽为前低后高倾斜设在壳体上,输送槽的前端伸出壳体的外部与一安装在壳体上的收管盒相连接。本实用新型具有能够减轻医务人员工作量、提高工作效率且不易错选采血管的优点。 | ||||
| 补充信息 | |||||
| 转让方式: | 成熟度: | 预估价值: | |||
| 市场前景: | |||||