样品
成果详情
| 项目简介 | |||||
|---|---|---|---|---|---|
| 技术简介: | |||||
| 专利类型: | 实用新型 | 专利申请号: | CN202121394898.7 | 公开号: | CN215608528U |
| 专利权人: | 南方医科大学珠江医院 | 发明设计人: | 李辉;陈群清;童健;贾龙飞;张福伟;黄洋 | ||
| 所属领域: | |||||
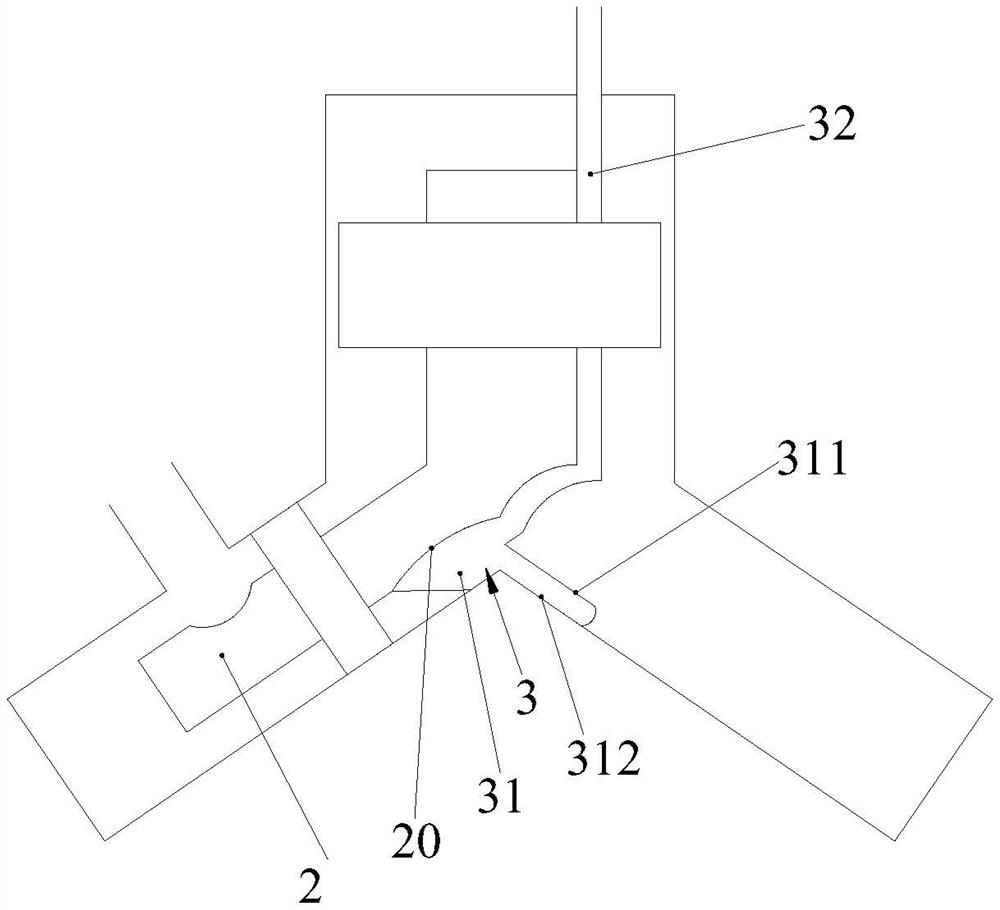
| 摘要: | 本公开属于医疗器械领域,公开一种带气囊隆突钩的改良双腔气管插管,包括带有隆突钩的双腔气管导管,所述隆突钩呈收缩状;所述隆突钩包括具有伸缩体,伸缩体内开设有充气腔室,充气腔室通过充气管进行连接。通过充气管对充气腔室进行充气,使得伸缩体进行膨胀,形成呈向下倾斜的钩状,避免硬质固定隆突钩的弊端,充分发挥其指引双腔管置管操作的作用,并且置管成功后,可通过充气管将隆突钩的有充气腔室抽瘪,防止隆突钩影响短管开口通气。 | ||||
| 补充信息 | |||||
| 转让方式: | 成熟度: | 预估价值: | |||
| 市场前景: | |||||