样品
成果详情
| 项目简介 | |||||
|---|---|---|---|---|---|
| 技术简介: | |||||
| 专利类型: | 实用新型 | 专利申请号: | CN202022866021.5 | 公开号: | CN213736402U | 
| 专利权人: | 南方医科大学南方医院 | 发明设计人: | 许波;许重远;宿爱山;古安城;姚香草;王艳芳 | ||
| 所属领域: | |||||
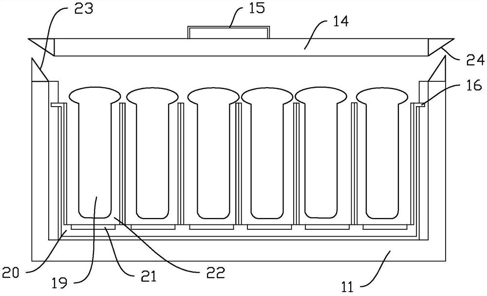
| 摘要: | 本实用新型公开了样本储存装置,包括冻存盒和至少两条冻存板,冻存盒置于超低温冰箱内,冻存盒包括具有第一腔体的盒体和能将第一腔体的敞口端遮挡的盒盖;每条冻存板具有至少一个用于放置冻存管的第二腔体,每条冻存板可拆卸的设置在第一腔体内,冻存板通过定位机构限定在第一腔体内。本实用新型设置可拆卸的设置在第一腔体内的冻存板,冻存盒置于超低温冰箱内,使用时,操作者将加入样本后的冻存管先放入一条冻存板,再将冻存板放入冻存盒卡槽内即可,不用反复拿取冻存盒,操作简单方便又能避免冻存盒内的样本发生超温现象;盒盖的把手外侧为棉布层,手把内填充导热率低的泡沫材料层或珍珠棉层,避免操作者提取盒盖时被冻伤,安全且实用性高。 | ||||
| 补充信息 | |||||
| 转让方式: | 成熟度: | 预估价值: | |||
| 市场前景: | |||||