样品
成果详情
| 项目简介 | |||||
|---|---|---|---|---|---|
| 技术简介: | |||||
| 专利类型: | 发明 | 专利申请号: | CN202011447465.3 | 公开号: | CN112603441A |
| 专利权人: | 南方医科大学南方医院 | 发明设计人: | 许波;许重远;陈洁;肖敏;蒋琳;罗小琴 | ||
| 所属领域: | |||||
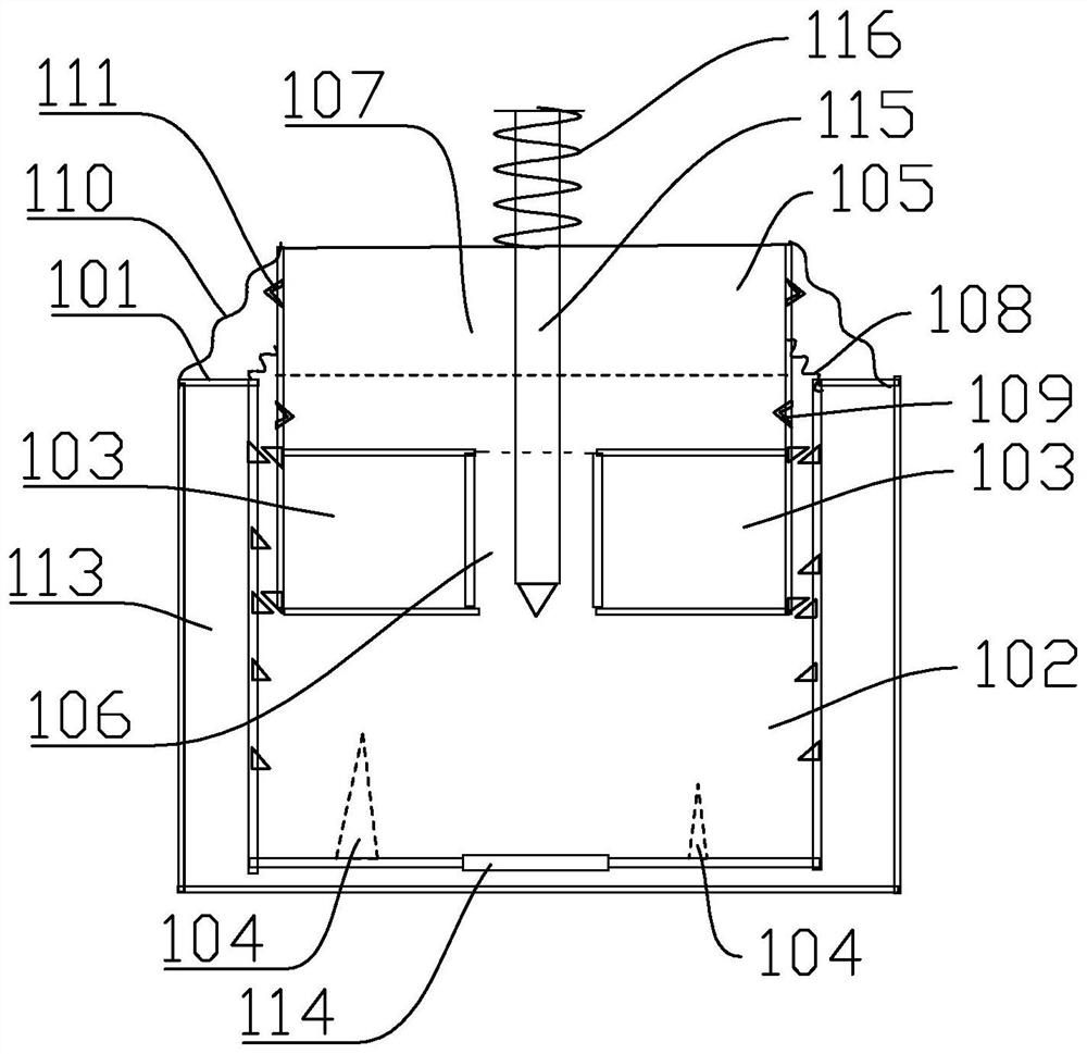
| 摘要: | 本发明公开了一种用于静脉采血后冷敷的止血组件,止血组件包括外壳、储存装置和安全组件,外壳设置有夹层,夹层装有硫酸盐溶液,外壳内的底壁设置有封膜;储存装置底部与外壳底部之间构成反应腔,反应腔装有固态物质,储存装置中设置有至少两个储存格,储存格装有溶液一,储存格的下方设置有第一穿刺部;安全组件包括第二穿刺部和压缩弹簧。将储存装置按压一段距离,部分第一穿刺部刺破对应的储存格,固态物质和溶液一反应制冷,冷敷止血,继续按压,另一部分第一穿刺部刺破对应的储存格,继续制冷,延长冷敷时间;若突发降温过低或患者不能接受寒冷刺激等状况,按压安全组件刺破封膜,硫酸盐使制冷反应紧急停止。 | ||||
| 补充信息 | |||||
| 转让方式: | 成熟度: | 预估价值: | |||
| 市场前景: | |||||