样品
成果详情
| 项目简介 | |||||
|---|---|---|---|---|---|
| 技术简介: | |||||
| 专利类型: | 发明 | 专利申请号: | CN201610021332.7 | 公开号: | CN105708583B |
| 专利权人: | 南方医科大学 | 发明设计人: | 付茂庆;欧阳钧;孙培栋 | ||
| 所属领域: | |||||
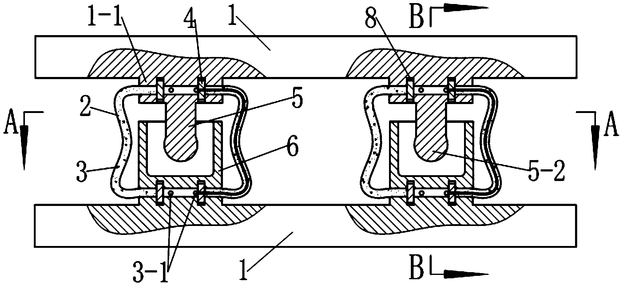
| 摘要: | 本发明公开了一种人工腰椎关节突关节系统,该系统包括两根横跨于同一腰椎骨两侧椎弓根上的连接杆和夹设在两连接杆之间的两个关节假体;每一关节假体均包括限位杆、限位套和包裹于两者之外的弹性罩;所述限位杆的上端设有与之同轴的连接盘,下端自限位套的敞口伸入其内与之形成一关节构造;所述弹性罩的两头向所述关节构造两头的中心径向延伸,并通过定位环固定在关节构造的两头;所述连接杆上在位于腰椎骨棘突的两侧分别设有一连接法兰;所述的两关节假体被分别夹持在位于腰椎骨棘突两侧的两对连接法兰之中。本发明所述的人工腰椎关节突关节系统能在腰椎关节突关节被切除后重建其功能,并在最大程度上保留关节突关节周围的正常组织。 | ||||
| 补充信息 | |||||
| 转让方式: | 成熟度: | 预估价值: | |||
| 市场前景: | |||||