样品
成果详情
| 项目简介 | |||||
|---|---|---|---|---|---|
| 技术简介: | |||||
| 专利类型: | 实用新型 | 专利申请号: | CN201920928866.7 | 公开号: | CN210542884U |
| 专利权人: | 南方医科大学珠江医院 | 发明设计人: | 戴喜花;张琼玲 | ||
| 所属领域: | |||||
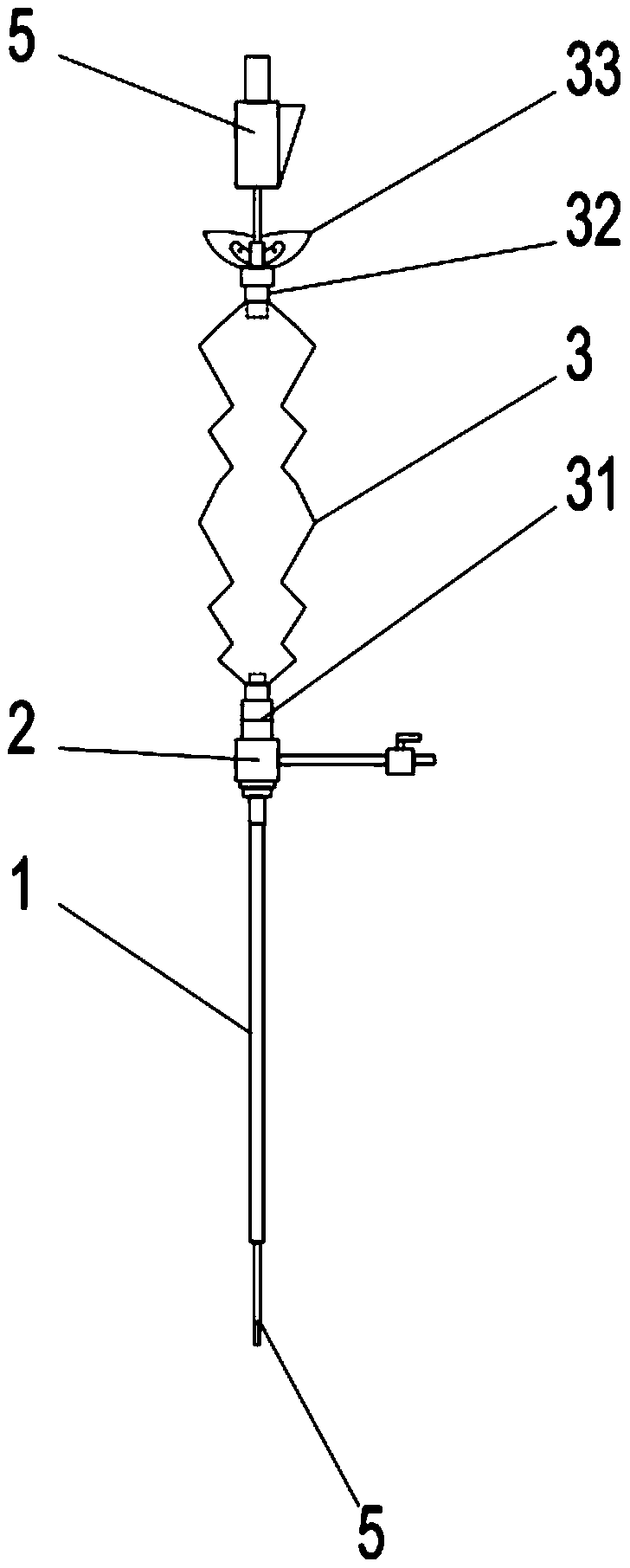
| 摘要: | 本实用新型公开了一种临时起搏器电极套件,包括穿刺针、导丝和用于插入人体的导管鞘,所述导管鞘与用于在对电极位置调节时提供密封缓存空间的调节保护套可拆卸连接,所述调节保护套设置有插入端口,所述电极通过插入端口依次贯穿调节保护套和导管鞘伸入患者体内,从而通过导管鞘和调节保护套形成用于电极位置调节的密封调节空间。通过本实用新型能够有效提高临时起搏电极使用的稳定性、安全性及调节方便性,节省成本。 | ||||
| 补充信息 | |||||
| 转让方式: | 成熟度: | 预估价值: | |||
| 市场前景: | |||||