样品
成果详情
| 项目简介 | |||||
|---|---|---|---|---|---|
| 技术简介: | |||||
| 专利类型: | 实用新型 | 专利申请号: | CN201821901015.5 | 公开号: | CN209933718U |
| 专利权人: | 南方医科大学南方医院 | 发明设计人: | 赵振龙;黄江琳;丁红 | ||
| 所属领域: | |||||
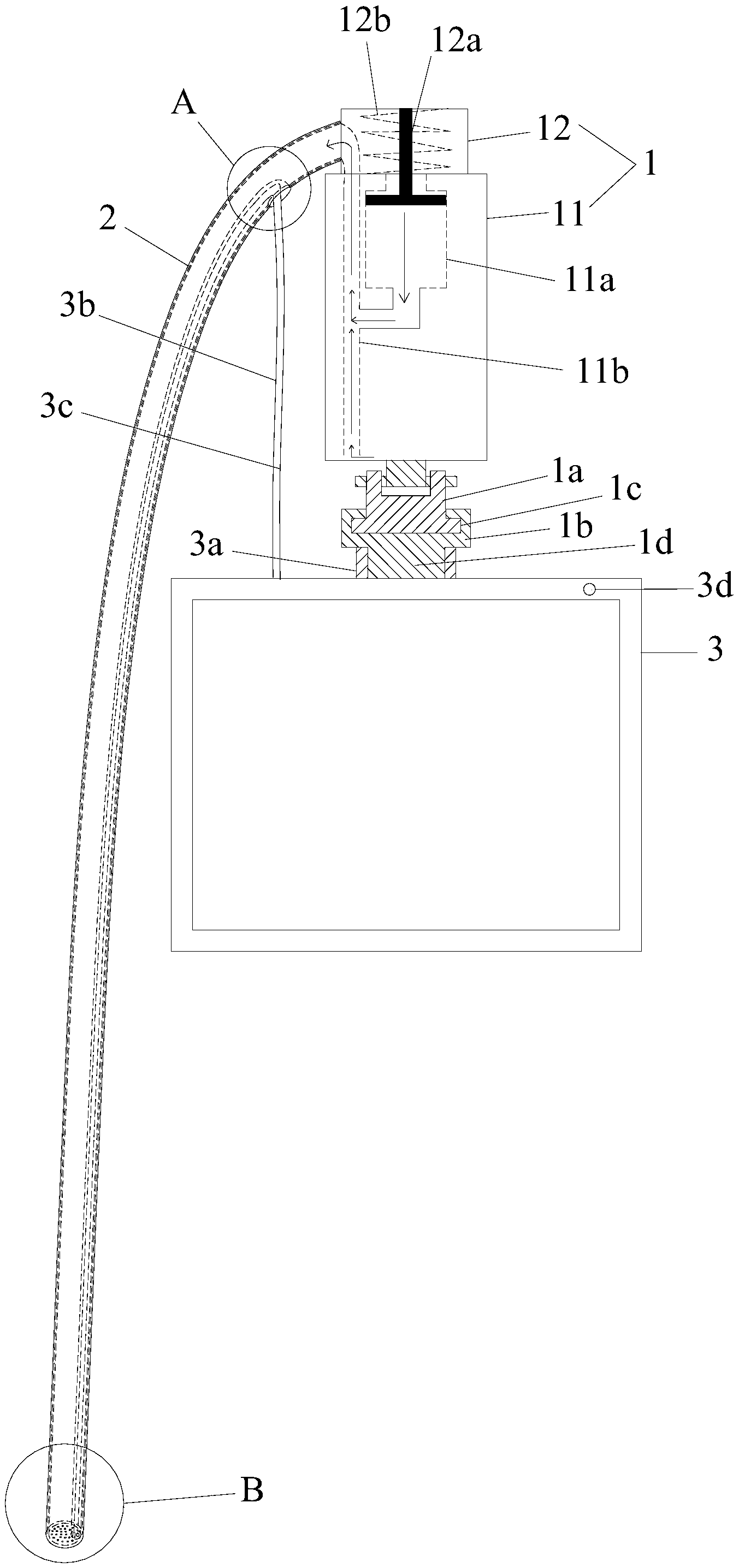
| 摘要: | 本实用新型公开了一种可视咽喉表面麻醉喷雾器,包括喷雾器和喷雾管,喷雾管的后端与喷雾器的出液口处连接,喷雾管是内部具有两个独立通道且可塑形的塑形喷雾管,喷雾管上接近后端的位置开有与其中一个独立通道连通的开孔,喷雾管的另一个独立通道为气流和液体通道,还包括显示屏,喷雾器能够旋转、折叠和拆卸地安装在显示屏的顶部,显示屏内连接有自顶部伸出的光源线和摄像头线,光源线和摄像头线自开孔处伸入与开孔连通的独立通道内并且延伸至喷雾管的前端,光源线和摄像头线在喷雾管的前端内部分别连接有光源和摄像头。本实用新型的可视咽喉表面麻醉喷雾器能够在实时视频监视下精准喷洒局麻药,避免药物中毒反应,简便易学,令初学者快速掌握。 | ||||
| 补充信息 | |||||
| 转让方式: | 成熟度: | 预估价值: | |||
| 市场前景: | |||||