样品
成果详情
| 项目简介 | |||||
|---|---|---|---|---|---|
| 技术简介: | |||||
| 专利类型: | 实用新型 | 专利申请号: | CN202121886407.0 | 公开号: | CN215995316U |
| 专利权人: | 南方医科大学深圳医院 | 发明设计人: | 黄英;蔡文智;王小姣;赵春;陈玲;李珏 | ||
| 所属领域: | |||||
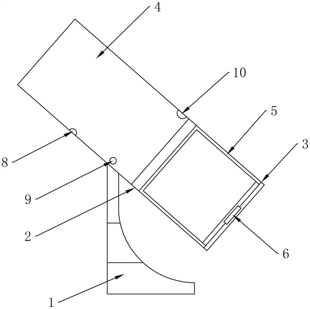
| 摘要: | 本实用新型公开一种家用黄疸治疗熏灯,包括:底座和灯体,所述灯体的中部与所述底座转动连接;所述灯体的一端内设有湿化器,所述湿化器内用于容纳中药;所述灯体的另一端内设有蓝光灯。本实用新型主要是超声雾化的功能将治疗黄疸的中药喷出,配合蓝光灯使用,通过中西医结合的的方式治疗新生儿黄疸,使用方便,效果较好。 | ||||
| 补充信息 | |||||
| 转让方式: | 成熟度: | 预估价值: | |||
| 市场前景: | |||||