样品
成果详情
| 项目简介 | |||||
|---|---|---|---|---|---|
| 技术简介: | |||||
| 专利类型: | 实用新型 | 专利申请号: | CN202020021643.5 | 公开号: | CN211751707U | 
| 专利权人: | 南方医科大学南方医院 | 发明设计人: | 黄夏赟;陶惠琴;陈剑敏;汤青云 | ||
| 所属领域: | |||||
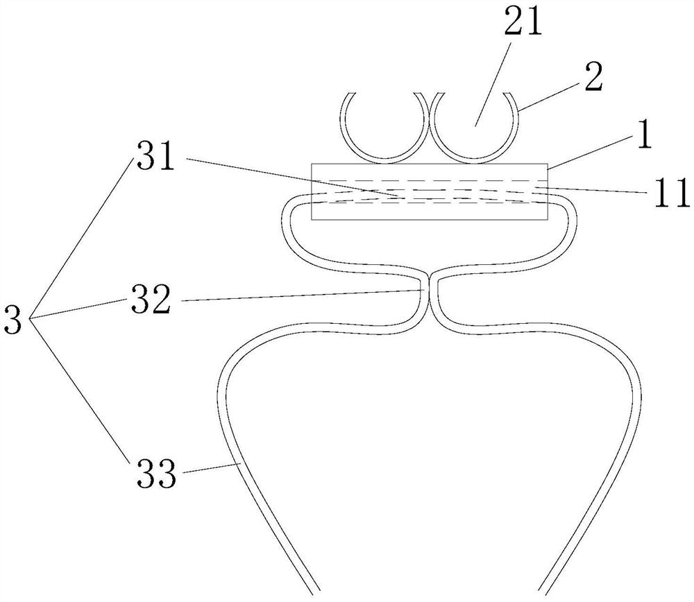
| 摘要: | 本实用新型公开了一种股静脉导管固定器,包括主体,所述主体内有开孔,开孔贯通主体的两相对侧面,开孔上穿置有腿部固定带,主体的上侧面固定有两个C型导管扣,两个C型导管扣的C型槽的贯通方向与开孔的贯通方向垂直。本实用新型的股静脉导管固定器既能避免脱管,又能避免损伤患者皮肤及器械性压疮的发生。 | ||||
| 补充信息 | |||||
| 转让方式: | 成熟度: | 预估价值: | |||
| 市场前景: | |||||