样品
成果详情
| 项目简介 | |||||
|---|---|---|---|---|---|
| 技术简介: | |||||
| 专利类型: | 实用新型 | 专利申请号: | CN201921943143.0 | 公开号: | CN211214882U |
| 专利权人: | 南方医科大学南方医院 | 发明设计人: | 张晓梅;潘速跃;邓逃生;谭庙琴;赖琳艳 | ||
| 所属领域: | |||||
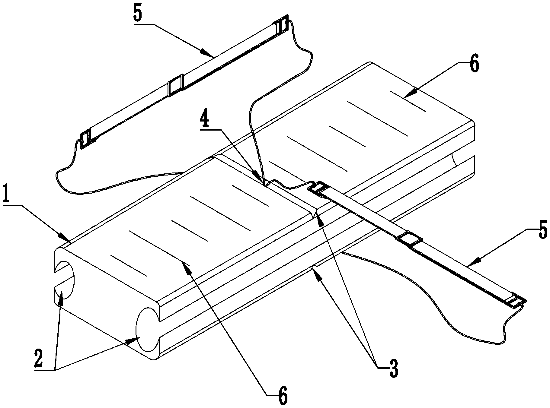
| 摘要: | 本实用新型公开了一种带门牙槽的多孔管道固定器。一种带门牙槽的多孔管道固定器,包括导管盘体;在所述导管盘体上开设有能够固定不同留置管管径的管道;在所述导管盘体的顶端和底端分别设置有门牙槽,在所述门牙槽上开设有沿竖直方向设置的固定绳通孔,在所述固定绳通孔上设置有用于固定所述管道内留置管的固定绳。本实用新型结构简单,固定效果好,既方便医护人员日常护理,又能够保护患者和管道安全的优点。 | ||||
| 补充信息 | |||||
| 转让方式: | 成熟度: | 预估价值: | |||
| 市场前景: | |||||