样品
成果详情
| 项目简介 | |||||
|---|---|---|---|---|---|
| 技术简介: | |||||
| 专利类型: | 实用新型 | 专利申请号: | CN202221622871.3 | 公开号: | CN218280230U |
| 专利权人: | 南方医科大学珠江医院 | 发明设计人: | 文美红;李菀丹;凌玲;王娟;李庆;朱胜权 | ||
| 所属领域: | |||||
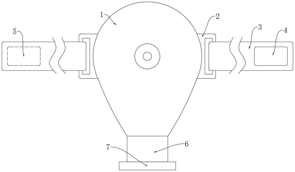
| 摘要: | 本实用新型公开了一种临床用辅助灌肠器,包括收集袋,所述收集袋的外壁固定连接有两个固定座,两个所述固定座共同固定连接有腰带,右侧的所述腰带上固定连接有第一魔术贴,左侧的所述腰带上固定连接有与第一魔术贴相配合的第二魔术贴,所述收集袋的后侧固定连接有与其相连通的插环,所述插环的内壁设有卡槽,所述收集袋的前端固定连接有卡块,所述卡块的前端固定连接有塞子,所述塞子的前端设有密封插槽,所述密封插槽上密封插接有密封块。本实用新型通过插环与卡块和密封块与塞子之间的密封固定,可以有效避免灌肠时漏液现象,达到最大限度保留灌肠液的作用;通过将排泄物收集到收集袋内,便于排泄物的收集和排出,操作简单。 | ||||
| 补充信息 | |||||
| 转让方式: | 成熟度: | 预估价值: | |||
| 市场前景: | |||||