样品
成果详情
| 项目简介 | |||||
|---|---|---|---|---|---|
| 技术简介: | |||||
| 专利类型: | 实用新型 | 专利申请号: | CN202221712306.6 | 公开号: | CN218484983U |
| 专利权人: | 南方医科大学珠江医院 | 发明设计人: | 吴妚玲;林宝杰;何海燕 | ||
| 所属领域: | |||||
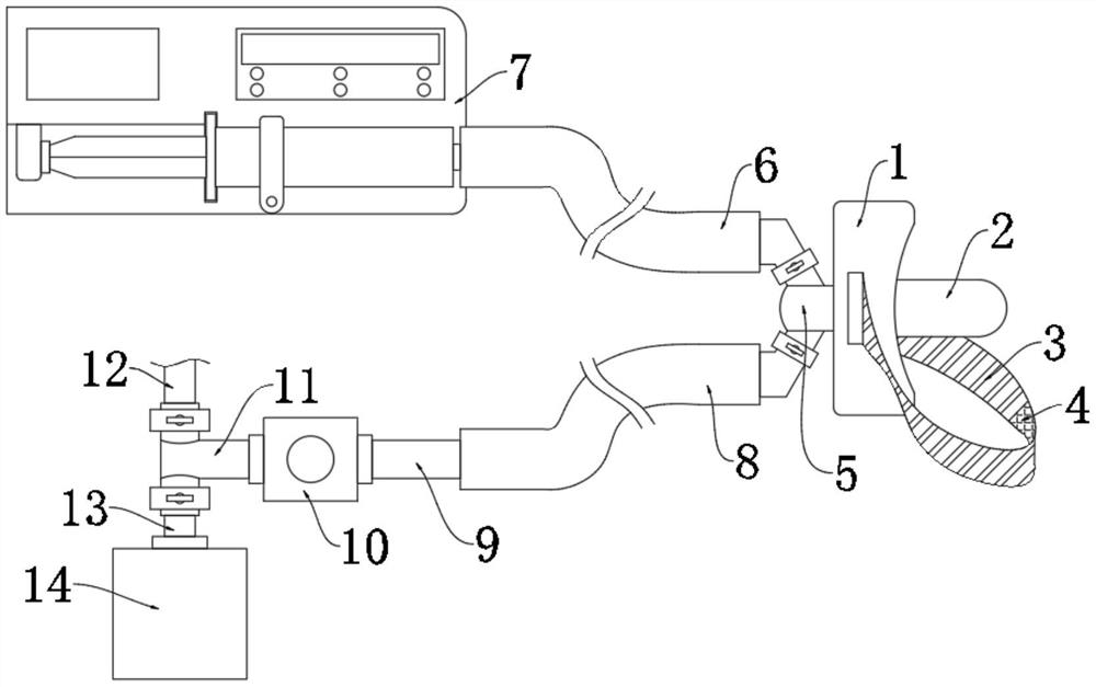
| 摘要: | 本实用新型公开了一种患儿吞咽反射训练装置,包括固定板,所述固定板的中部固定嵌装有第二连接管,所述第二连接管的一端固定套装有训练奶嘴,所述第二连接管的另一端固定套装有第一三通管,所述第一三通管的两个支端分别连接有第一进料管、第二进料管,所述第一进料管远离第一三通管的一端连接有微量注射泵,所述第二进料管远离第一三通管的一端连接有第一连接管,所述第一连接管远离第二进料管的一端设有气液刺激组件。本实用新型能够针对气管插管患儿、吞咽功能弱的患儿进行吞咽反射功能的训练,且训练时的刺激方式多样,整体训练效果较好,使用便捷。 | ||||
| 补充信息 | |||||
| 转让方式: | 成熟度: | 预估价值: | |||
| 市场前景: | |||||