样品
成果详情
| 项目简介 | |||||
|---|---|---|---|---|---|
| 技术简介: | |||||
| 专利类型: | 实用新型 | 专利申请号: | CN202222254175.8 | 公开号: | CN218515888U |
| 专利权人: | 南方医科大学珠江医院 | 发明设计人: | 胡佳;曾穗婷;张小平;邬丽娜;何如杰 | ||
| 所属领域: | |||||
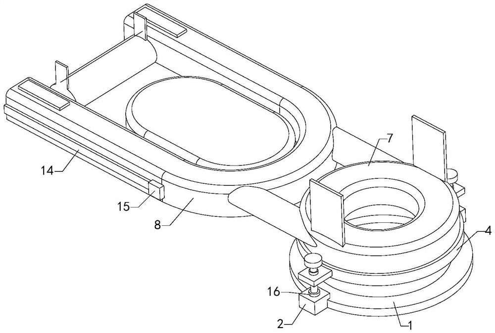
| 摘要: | 本实用新型涉及眼科康复的技术领域,特别是涉及一种眼科玻璃体切除术后俯卧位垫枕,其经两侧的拧动操作即可实现升降调节,无需拆卸,使用调试更加方便快捷,提高可靠性;包括底座、连接座、调节螺杆、头部托盘、螺环连接架、拧手、枕圈、趴垫、轴承和螺环,底座左右侧分别与一组连接座内端相连接,两组连接座顶端分别与一组轴承底端相连接,两组轴承顶端分别转动连接有一组调节螺杆,头部托盘左右侧分别与一组螺环连接架内端相连接,两组螺环连接架内侧分别连接有一组螺环,调节螺杆外壁与螺环内壁螺装连接,两组调节螺杆顶端分别与一组拧手底端中部相连接,枕圈后端与趴垫前端相连接,枕圈铺设于头部托盘顶端。 | ||||
| 补充信息 | |||||
| 转让方式: | 成熟度: | 预估价值: | |||
| 市场前景: | |||||