样品
成果详情
| 项目简介 | |||||
|---|---|---|---|---|---|
| 技术简介: | |||||
| 专利类型: | 实用新型 | 专利申请号: | CN202321688461.3 | 公开号: | CN220089636U |
| 专利权人: | 南方医科大学深圳医院 | 发明设计人: | 王建伟 | ||
| 所属领域: | |||||
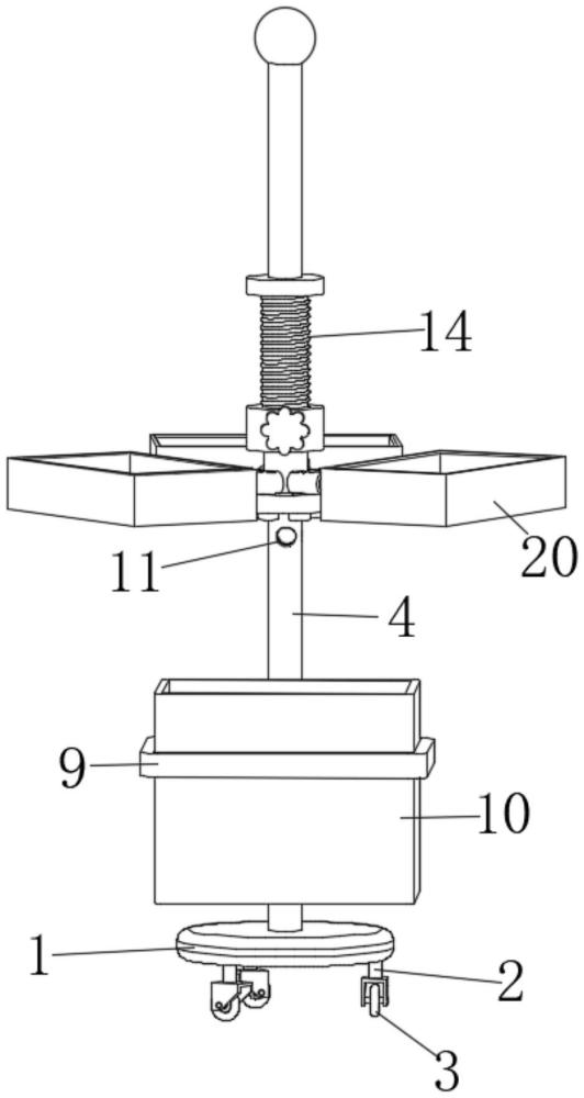
| 摘要: | 本实用新型涉及医疗设备技术领域,具体为一种多功能的托架,包括底盘和支杆,所述底盘的上端焊接有支杆;所述支杆的外壁等距开设有多组连接槽,所述支杆的外部套接有连接套,所述连接套的右端连接有固定架,所述固定架的内部设置有垃圾桶;所述支杆的外壁等距开设有第一螺纹槽。本实用新型,通过在支杆的外壁等距开设有连接槽和第一螺纹槽,在支杆的外部套接有活动块和连接套,然后根据使用者的身高等调节使用的高度,使医护人员在拿取或者放置医疗用具的时候更加的舒适方便,在丢弃医疗垃圾的时候也比较方便;在支杆的外部设置了多组托盘,可以使放置的医疗用具更多,也可以使多个医疗人员同时使用一个托架,更能够节省使用的空间。 | ||||
| 补充信息 | |||||
| 转让方式: | 成熟度: | 预估价值: | |||
| 市场前景: | |||||