样品
成果详情
| 项目简介 | |||||
|---|---|---|---|---|---|
| 技术简介: | |||||
| 专利类型: | 实用新型 | 专利申请号: | CN202421388469.2 | 公开号: | CN222723258U |
| 专利权人: | 南方医科大学珠江医院 | 发明设计人: | 林静纯;姜雯频;刘银红;黄春容 | ||
| 所属领域: | |||||
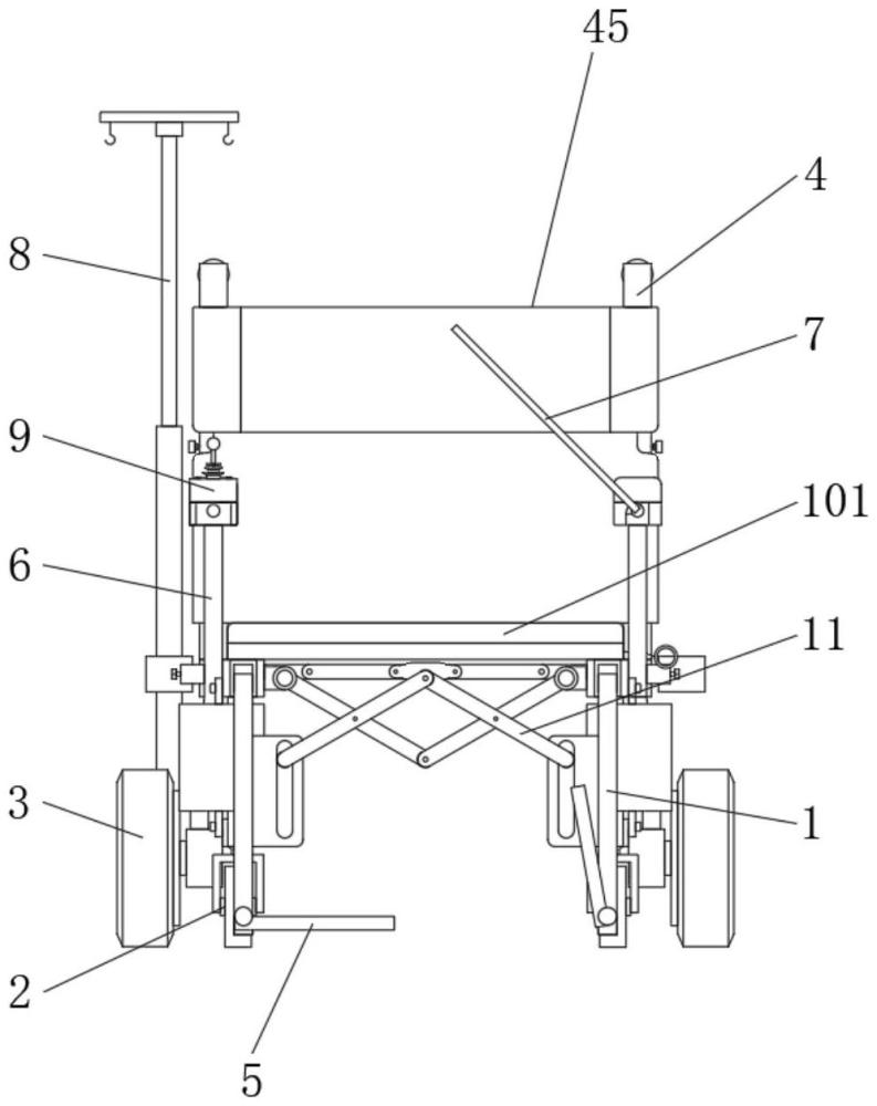
| 摘要: | 本实用新型公开了一种具有平躺和坐便功能的折叠式电轮椅。一种具有平躺和坐便功能的折叠式电轮椅,包括车架,在所述车架内设有交叉式的连接杆,在所述车架的上部可拆卸装设有坐便板和座垫,在所述车架的上部后端铰接有能够转动一定角度的靠背组件,在所述车架的上部前端铰接有能够转动一定角度的脚托组件,在所述车架的左右两侧均设有扶手组件,在所述扶手组件上可拆卸装设有桌板组件、输液组件和控制组件,在所述车架的底部前端设有转向轮,在所述车架的底部后端设有驱动轮,所述控制组件和驱动轮连接在一起。本实用新型有利于减轻护理人员的工作量,能够尽量满足患者的日常需求并且有利于增加患者的自信心。 | ||||
| 补充信息 | |||||
| 转让方式: | 成熟度: | 预估价值: | |||
| 市场前景: | |||||