样品
成果详情
| 项目简介 | |||||
|---|---|---|---|---|---|
| 技术简介: | |||||
| 专利类型: | 实用新型 | 专利申请号: | CN201921469889.2 | 公开号: | CN211583986U |
| 专利权人: | 南方医科大学南方医院 | 发明设计人: | 马丹婷;李园;李莼;周静 | ||
| 所属领域: | |||||
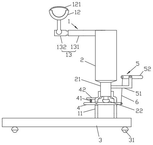
| 摘要: | 一种手臂支撑装置,涉及手臂支撑技术领域,包括手臂支撑部件、气压棒和底板,气压棒的内钢管通过支架固定在底板上,手臂支撑部件活动连接在气压棒另一端上;支架上设置有压杆,压杆与支架的左端活动连接,压杆的长度大于支架的宽度使压杆的两端位于支架的外面;压杆的中端与气压棒的控制销接触,压杆的右端的上方连接有脚踏装置,脚踏装置固定在气压棒的内钢管上。本实用新型通过将患者手腕放入手臂支撑部件进行固定,通过脚踩脚踏装置控制压杆来按动气压棒的控制销控制手臂支撑部件的高度,使其能够根据患者手臂需要抬起的高度进行相应的调整,起到了节省人力的作用,同时采用脚踏装置无需操作人员弯腰用手去操作,使该装置使用过程更方便。 | ||||
| 补充信息 | |||||
| 转让方式: | 成熟度: | 预估价值: | |||
| 市场前景: | |||||