样品
成果详情
| 项目简介 | |||||
|---|---|---|---|---|---|
| 技术简介: | |||||
| 专利类型: | 发明 | 专利申请号: | CN202410505045.8 | 公开号: | CN118079044A |
| 专利权人: | 南方医科大学南方医院 | 发明设计人: | 邓素芬;李斯;李晓俊;李新宇;齐宏亮;刘欢欢;廖春意;官健 | ||
| 所属领域: | |||||
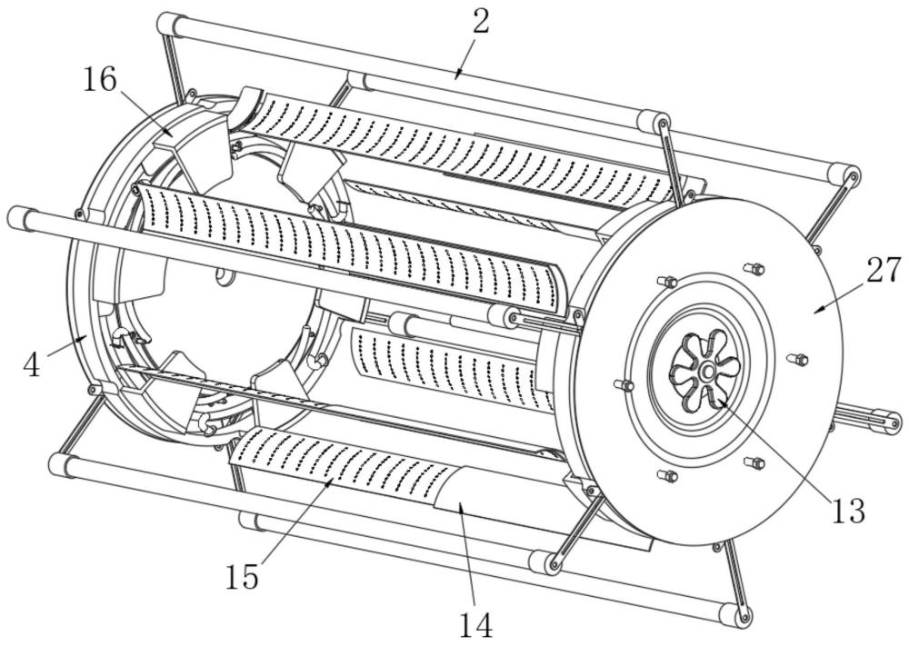
| 摘要: | 本发明提供一种无磁消毒灯,属于医疗消毒技术领域。包括安装在支架上的多个紫外灯灯管,以及用于调节多个所述紫外灯灯管间距大小的变距组件,变距组件包括同轴布置的内圆盘与外环,以及滑动卡设在对应弧形滑槽内的弧形滑块,紫外灯灯管的一侧还设有用于擦拭紫外灯灯管的薄海绵,薄海绵安装在弧形板上,且弧形板的截面与对应紫外灯灯管展开时的运动轨迹相适配,弧形跷杆包括弧线段与杠杆段,弧线段与杠杆段的曲率不同,且弧形跷杆通过扭簧转动安装在对应的伸缩块上,弧形板通过夹座与倾斜座球头连接,倾斜座与对应延长筒之间连接有贴紧弹簧。相较于现有技术,本申请解决了对磁共振扫描室采用无磁消毒灯消毒效果差、效率低等系列问题。 | ||||
| 补充信息 | |||||
| 转让方式: | 成熟度: | 预估价值: | |||
| 市场前景: | |||||