样品
成果详情
| 项目简介 | |||||
|---|---|---|---|---|---|
| 技术简介: | |||||
| 专利类型: | 发明 | 专利申请号: | CN201710294424.7 | 公开号: | CN107050688A |
| 专利权人: | 南方医科大学 | 发明设计人: | 王军;张平;陈嘉志;徐朴;龙浩;杨开军;殷延毅;张国忠;方陆雄;彭林;邱炳辉;张喜安;潘军;冯文峰;漆松涛 | ||
| 所属领域: | |||||
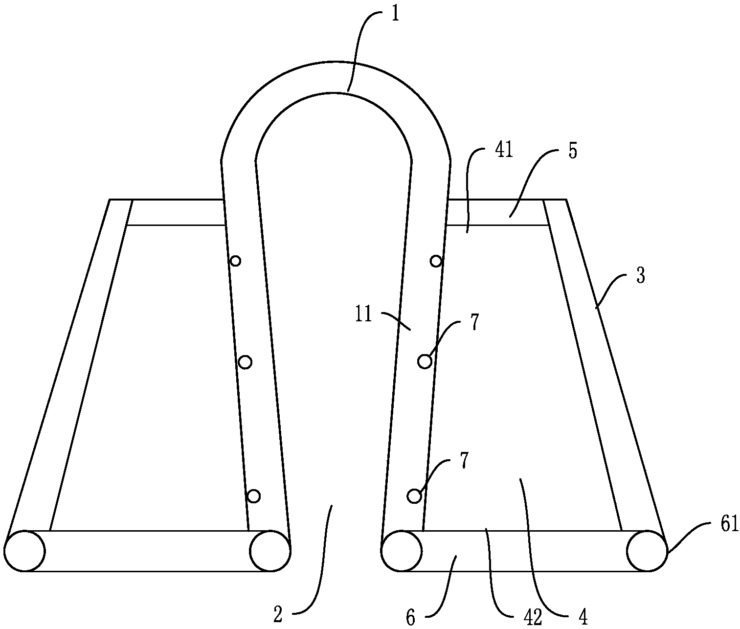
| 摘要: | 本发明公开了一种兼有治疗作用的过滤吸附装置,用于呼吸技术领域,包括呈拱形的连接支架,所述连接支架的底部设有卡入口,连接支架的两侧设有筒状的塞入部件,每个所述塞入部件包括由滤膜以及连接支架侧壁所围成的通气腔,所述连接支架内设有中空的储液腔,连接支架侧壁设有若干连通储液腔与通气腔的微孔。本发明的滤膜用作呼吸时对空气的过滤吸附,储液腔和微孔的设计还可以将药液通过微孔渗透至通气腔内,通过呼吸作用将蒸发在气流内的药液持续吸入鼻腔和呼吸道中,对用户预防和治疗疾病起到良好的作用。 | ||||
| 补充信息 | |||||
| 转让方式: | 成熟度: | 预估价值: | |||
| 市场前景: | |||||