样品
成果详情
| 项目简介 | |||||
|---|---|---|---|---|---|
| 技术简介: | |||||
| 专利类型: | 实用新型 | 专利申请号: | CN202120540707.7 | 公开号: | CN214970671U | 
| 专利权人: | 南方医科大学南方医院 | 发明设计人: | 邓瑛瑛;陈飞亚;罗瑞华 | ||
| 所属领域: | |||||
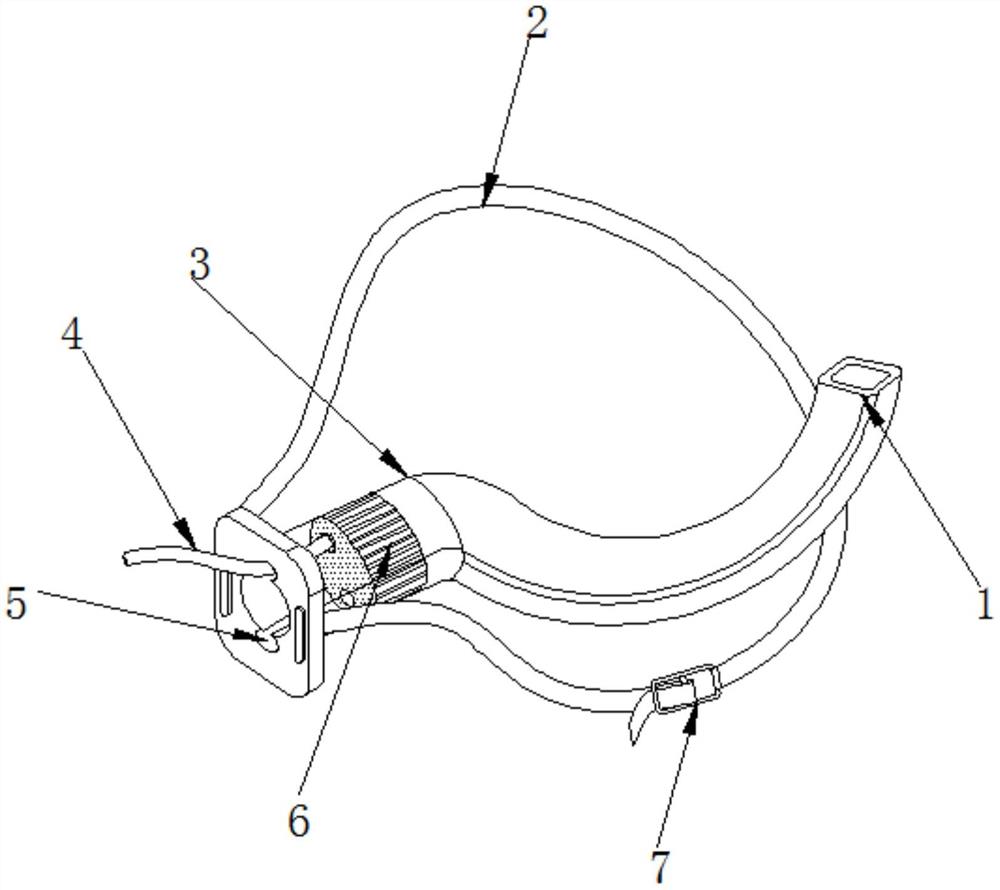
| 摘要: | 本实用新型公开了一种可吸氧的口咽通气道,包括口咽通气道本体和固定在口咽通气道上的束带,所述口咽通气道本体包括弯曲部和咬合部,且咬合部和弯曲部的端部之间一体连接,所述咬合部的端部外壁设有凸缘,且凸缘的两侧对称设有固定孔,所述束带的两端均设有卡扣,且卡扣的内边卡接在固定孔的内壁上。本实用新型中利用束带固定在患者耳后侧,内咬垫位于通向患者的一侧连接至咬口部与弯曲部的交界处,内部插接有氧气管连接氧气端,为患者进行吸氧,在吸氧接头下侧的设有吸痰管口径大小的口子,用于专门吸痰操作。 | ||||
| 补充信息 | |||||
| 转让方式: | 成熟度: | 预估价值: | |||
| 市场前景: | |||||