样品
成果详情
| 项目简介 | |||||
|---|---|---|---|---|---|
| 技术简介: | |||||
| 专利类型: | 实用新型 | 专利申请号: | CN202020344129.5 | 公开号: | CN211955663U |
| 专利权人: | 南方医科大学珠江医院 | 发明设计人: | 张玉娴 | ||
| 所属领域: | |||||
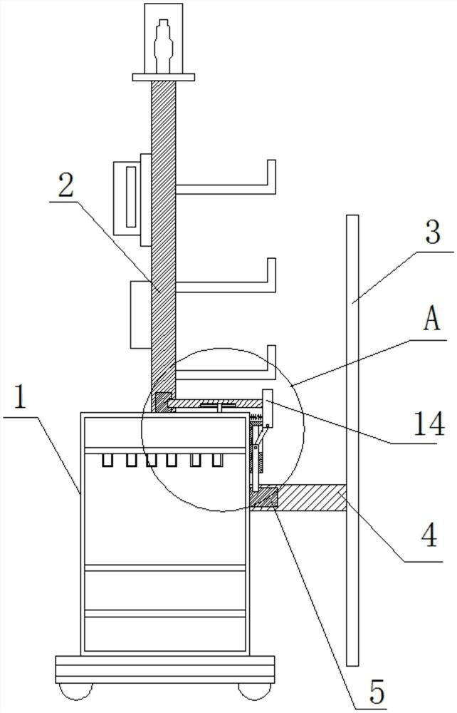
| 摘要: | 本实用新型属于电磁辐射检测技术领域,尤其是一种医疗用电磁辐射检测设备,针对现有的检测设备不便于进行拆分,运输不便的问题,现提出如下方案,其包括设备本体,所述设备本体包括衣柜,衣柜的顶部安装有支撑柱,衣柜的外侧设有防辐射外板,所述防辐射外板的一侧固定安装有固定板的一侧,衣柜的一侧固定安装有固定座,固定板的另一侧开设有插槽,固定座与插槽相卡装,所述衣柜的顶部固定安装有连接座,支撑柱的底部开设有连接槽,连接座与连接槽相卡装,连接座的一侧开设有第二卡槽,固定座的顶部开设有第一卡槽,本实用新型便于对衣柜、支撑柱和防辐射外板进行拆分,便于进行运输,结构简单,使用方便。 | ||||
| 补充信息 | |||||
| 转让方式: | 成熟度: | 预估价值: | |||
| 市场前景: | |||||