样品
成果详情
| 项目简介 | |||||
|---|---|---|---|---|---|
| 技术简介: | |||||
| 专利类型: | 实用新型 | 专利申请号: | CN202420829399.3 | 公开号: | CN222488293U |
| 专利权人: | 南方医科大学珠江医院 | 发明设计人: | 郑华梅;徐颖;胡丽娟;肖彩兰;丁飞;甘桂英 | ||
| 所属领域: | |||||
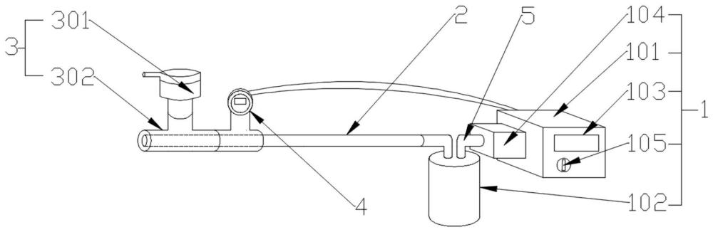
| 摘要: | 本实用新型公开了一种带有压力感应的吸痰装置,包括自动吸痰装置、吸痰管和连接管;所述连接管包括人工鼻和管体,所述人工鼻安装在所述管体上,所述管体的一端与患者的人工气道相连接且所述管体的另一端封闭,所述管体上设置有用于检测患者气道压力的压力传感器,所述吸痰管的一端套设在所述连接管的内部且所述吸痰管的另一端穿出所述连接管外与所述自动吸痰装置相连通,所述吸痰管的另一端伸入患者的气道内,所述压力传感器与所述自动吸痰装置电性连接。本实用新型具有能够减轻护理人员的工作负担和检测患者气道气压并自动吸痰的优点。 | ||||
| 补充信息 | |||||
| 转让方式: | 成熟度: | 预估价值: | |||
| 市场前景: | |||||