样品
成果详情
| 项目简介 | |||||
|---|---|---|---|---|---|
| 技术简介: | |||||
| 专利类型: | 发明 | 专利申请号: | CN201010130358.8 | 公开号: | CN101837151A |
| 专利权人: | 南方医科大学珠江医院 | 发明设计人: | 高毅;周焕城;李明;张志;蒋泽生 | ||
| 所属领域: | |||||
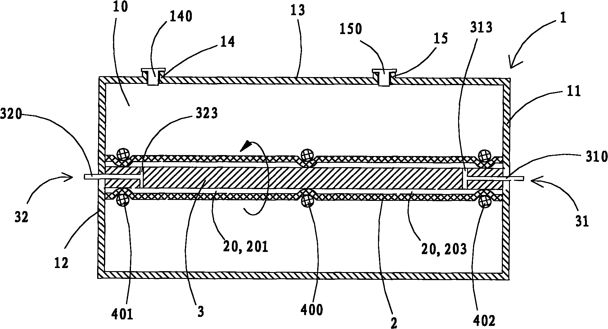
| 摘要: | 本发明公开一种双向灌注式生物反应器控制系统和方法,其主要改进一方面在于其中的生物反应器,在生物反应器内部的滤膜上,利用一结扎件约束滤膜与芯轴相箍紧进行结扎,使滤膜与芯轴之间形成的缝隙被分为多个互不连通的隙区,另一方面在于提供一流向控制器对流经生物反应器的第二流体的流向进行自动切换流向。本发明综合解决了现有的生物反应器存在的灌注不均、死腔、堵塞及交换率低等问题。 | ||||
| 补充信息 | |||||
| 转让方式: | 成熟度: | 预估价值: | |||
| 市场前景: | |||||