样品
成果详情
| 项目简介 | |||||
|---|---|---|---|---|---|
| 技术简介: | |||||
| 专利类型: | 发明 | 专利申请号: | CN202010294373.X | 公开号: | CN111531746B |
| 专利权人: | 南方医科大学南方医院 | 发明设计人: | 黎帝伟;田蓉;许明福 | ||
| 所属领域: | |||||
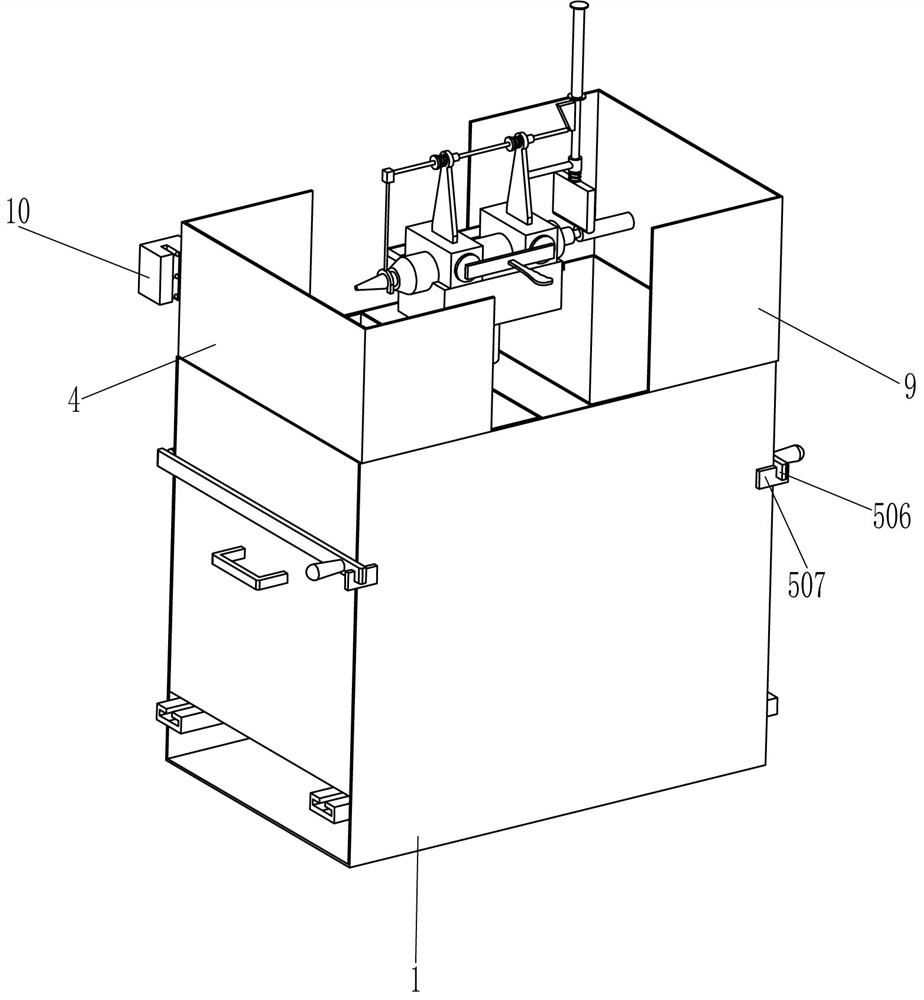
| 摘要: | 本发明涉及一种回收设备,尤其涉及一种废弃医疗注射器毁形回收设备。技术问题是如何设计一种能够将分离后的针筒与针头进行收集,方便人们的处理,且还能将针筒的活塞杆折断,避免再次利用的废弃医疗注射器毁形回收设备。一种废弃医疗注射器毁形回收设备,包括有框体,所述框体一侧中间固接有放置座,所述第一u型挡板安装于与放置座同一侧的所述框体一侧边缘位。本发明通过将注射器放入放置座内,且使针筒移动至指定位置,拉动摆动压块将针筒压紧固定,推动推杆,即可使得推板将针头推出与针筒脱离,且推料板将针筒的活塞杆折断,如此,避免了注射器被人们捡起再次利用。 | ||||
| 补充信息 | |||||
| 转让方式: | 成熟度: | 预估价值: | |||
| 市场前景: | |||||