样品
成果详情
| 项目简介 | |||||
|---|---|---|---|---|---|
| 技术简介: | |||||
| 专利类型: | 实用新型 | 专利申请号: | CN202422777853.8 | 公开号: | CN222214717U |
| 专利权人: | 南方医科大学南方医院 | 发明设计人: | 于丹丹;侯晓敏 | ||
| 所属领域: | |||||
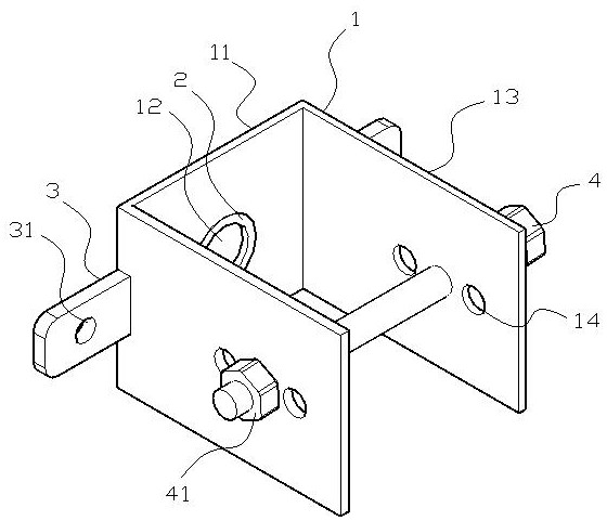
| 摘要: | 本实用新型涉及手术室插头防护领域,尤其涉及一种用于手术室的插头防拔装置,包括右开口的U形固定架,U形固定架左侧第一固定板中心位置嵌有可供三相插头的插片通过的插孔,U形固定架两侧的第二固定板的左端部中心位置分别固定设有固定片,固定片上设有与插座上固定孔相对应的通孔。固定片右侧的第二固定板上横向排列设有若干穿孔,前后两侧的穿孔一一对应,一对前后穿孔中穿置有螺栓,螺栓的穿出端设有锁紧螺母。它操作简单,使用方便,适用于多种场所。 | ||||
| 补充信息 | |||||
| 转让方式: | 成熟度: | 预估价值: | |||
| 市场前景: | |||||