样品
成果详情
| 项目简介 | |||||
|---|---|---|---|---|---|
| 技术简介: | |||||
| 专利类型: | 实用新型 | 专利申请号: | CN202122265534.5 | 公开号: | CN215537093U |
| 专利权人: | 南方医科大学珠江医院 | 发明设计人: | 黄洋;李辉;陈群清;贾龙飞;余艳;王佳兰 | ||
| 所属领域: | |||||
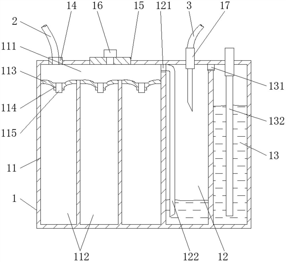
| 摘要: | 本实用新型公开了一种抗反流多功能胸瓶。一种抗反流多功能胸瓶,包括引流瓶,其中,在所述引流瓶内依次设有积液腔、水封腔和调压腔,所述积液腔包括上部的引流腔,在所述引流腔的下方排列设有至少三个积液间,在每一所述积液间的上端均设有凹状的集液槽,在所述集液槽的底部设有引流口,所述引流口内设有仅供液体从引流腔流向积液间的单向阀,在所述引流瓶上设有能够连通引流腔的胸管接头和排气孔,所述胸管接头与一胸管连接在一起,所述排气孔内装设有排气旋塞。本实用新型一种抗反流多功能胸瓶,抗反流效果好并且能够有效保护患者。 | ||||
| 补充信息 | |||||
| 转让方式: | 成熟度: | 预估价值: | |||
| 市场前景: | |||||