样品
成果详情
| 项目简介 | |||||
|---|---|---|---|---|---|
| 技术简介: | |||||
| 专利类型: | 实用新型 | 专利申请号: | CN202020502613.6 | 公开号: | CN213131353U |
| 专利权人: | 南方医科大学南方医院 | 发明设计人: | 邹玲;关天军;黄养松 | ||
| 所属领域: | |||||
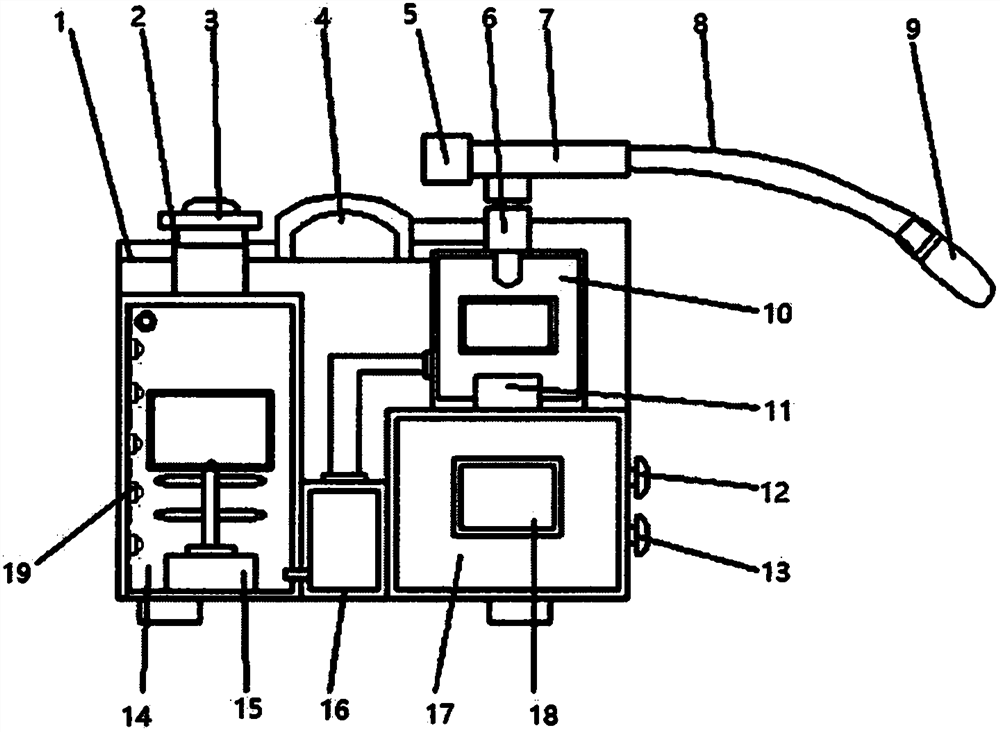
| 摘要: | 本实用新型公开一种雾化装置,包括设置于雾化装置主体内的药剂箱、超声波雾化机构和雾化腔,药剂箱的顶部设有加药口,侧壁设置有若干药剂注射口,药剂箱通过安装有增压泵的导管与雾化腔连通,雾化腔安装在超声波雾化机构的顶部;雾化腔的出口通过喷雾通道与安装有喷雾头的软管连接;药剂注射口的内侧壁设置有药液流入管和旋转挡板,旋转挡板的底端通过销轴设置于药剂箱的内侧壁且位于药液流入管的出口下方,旋转挡板的内侧面通过一根连杆连接有浮球,该浮球浮于药液顶面。该雾化装置,具有可控制雾化药液的剂量的优点,同时还可以根据需求调节喷雾的大小,便于针对患者的不同情况进行针对性喷雾治疗,进而提高了喷雾治疗的效果。 | ||||
| 补充信息 | |||||
| 转让方式: | 成熟度: | 预估价值: | |||
| 市场前景: | |||||