样品
成果详情
| 项目简介 | |||||
|---|---|---|---|---|---|
| 技术简介: | |||||
| 专利类型: | 实用新型 | 专利申请号: | CN201922338216.X | 公开号: | CN211460992U |
| 专利权人: | 南方医科大学南方医院 | 发明设计人: | 李冰 | ||
| 所属领域: | |||||
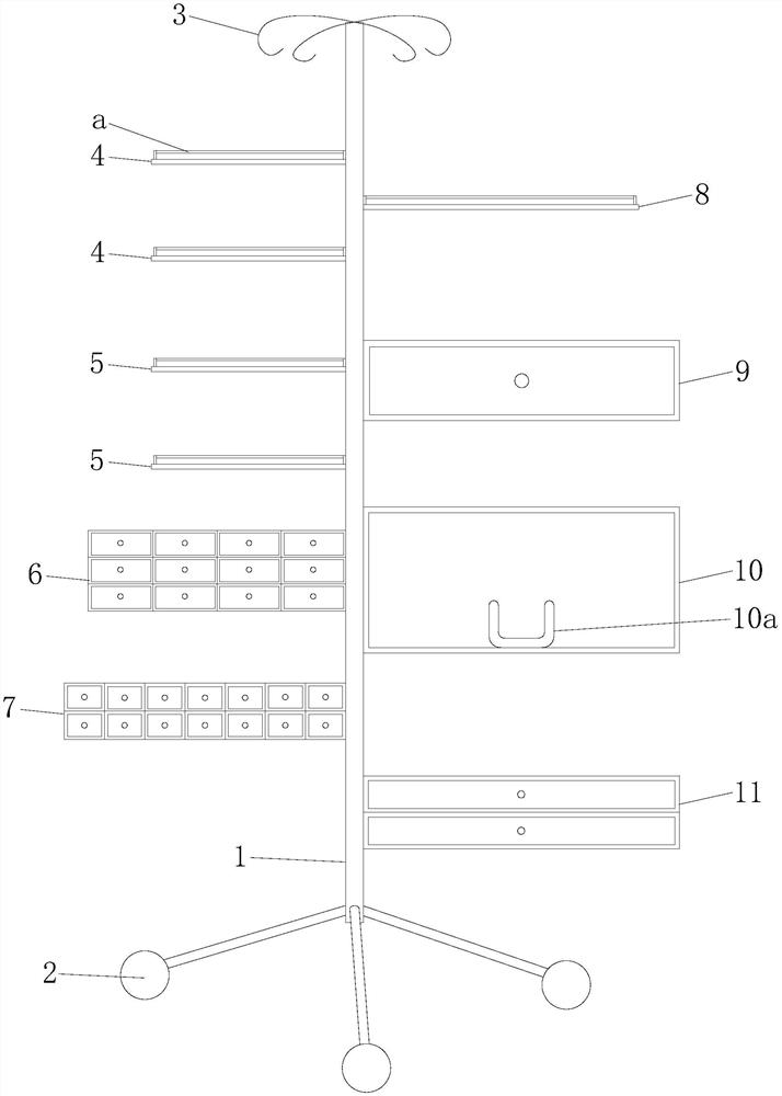
| 摘要: | 本实用新型公开了一种多功能可移动急救车,包括输液架,输液架的底部有轮子,输液架的顶部有挂钩,所述输液架的一边从上至下依次固定有注射泵放置架,输液泵放置架,急救药品存放抽屉,以及无菌物品存放抽屉;输液架的另一边从上至下依次固定有监护仪放置架,仪器登记本抽屉,负压吸引瓶放置柜,以及吸痰管、氧气罐及湿化瓶存放抽屉。本实用新型的多功能可移动急救车在输液架的基础上增加了放置急救用物品、药品、注射泵、输液泵、监护仪、仪器登记本、负压吸引瓶、吸痰管、氧气罐及湿化瓶的功能,能在巡回医疗时往返于病房之间作为急救使用。 | ||||
| 补充信息 | |||||
| 转让方式: | 成熟度: | 预估价值: | |||
| 市场前景: | |||||