样品
成果详情
| 项目简介 | |||||
|---|---|---|---|---|---|
| 技术简介: | |||||
| 专利类型: | 实用新型 | 专利申请号: | CN202420698265.2 | 公开号: | CN222093107U |
| 专利权人: | 南方医科大学深圳医院 | 发明设计人: | 夏瑰丽;夏瑰林 | ||
| 所属领域: | |||||
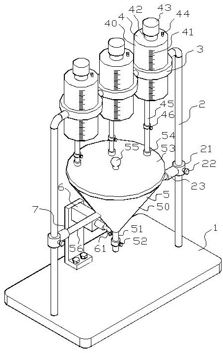
| 摘要: | 本实用新型涉及胃镜染色混合领域,尤其涉及一种胃镜染色剂混合溶液配制设备,该配制瓶可解决目前内镜染色溶液的配置,是工作人员手动添加,再手动摇匀,不能实现药液的连续定量供给和搅匀,费时费力,不利于提高工作效率的问题。包括底座,所述底座上方设有锥形的混合容器,所述混合容器左右两侧分别与竖向的支杆可转动连接,所述混合容器上方设有若干与混合容器可拆卸连接的其可以控制排液量的储液桶,每个储液桶上分别套设有固定环,相邻的固定环之间设有连接块,最外侧的固定环通过连接块与支杆顶部固定连接;混合容器底部后侧还设有前后往复推拉的摇匀结构。它操作简单,使用方便,适用于多种溶液。 | ||||
| 补充信息 | |||||
| 转让方式: | 成熟度: | 预估价值: | |||
| 市场前景: | |||||