样品
成果详情
| 项目简介 | |||||
|---|---|---|---|---|---|
| 技术简介: | |||||
| 专利类型: | 实用新型 | 专利申请号: | CN202322231548.4 | 公开号: | CN221331359U |
| 专利权人: | 南方医科大学珠江医院 | 发明设计人: | 史本超;曾炜波;陈远明;朱哲民;胡生轩;汪帅 | ||
| 所属领域: | |||||
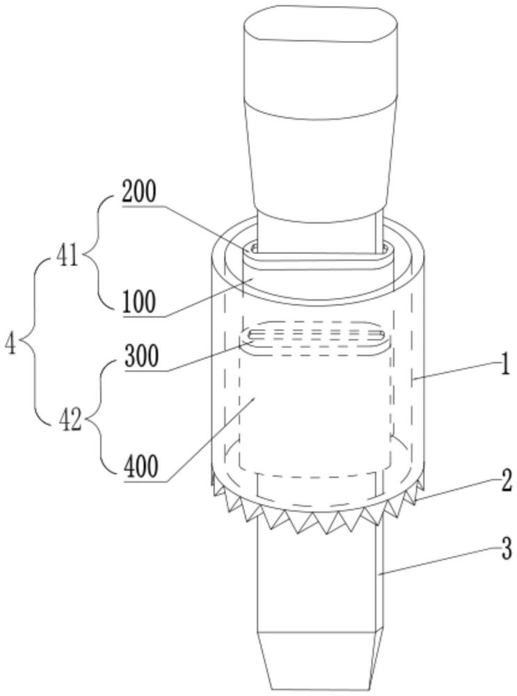
| 摘要: | 本实用新型属于医疗技术领域。本实用新型公开了一种用于脊柱内镜通道辅助造腔的骨刀结构,包括卡槽筒体;在所述卡槽筒体的上端设有一用于将该卡槽筒体稳固限定在患者腰椎棘突指定位置上的限位锯齿,在所述卡槽筒体的内部一侧纵向设有一用于供一骨刀可拆卸伸入并根据需求进行不同进深凿穿患者脊柱椎板以形成造腔通道的夹层组件。本实用新型具有在凿穿脊柱椎板的过程中骨刀不易在脊柱棘突矢状面上产生滑动偏移影响造腔效率、不易出现骨刀向下滑移导致凿击过深而损伤硬膜囊的优点。 | ||||
| 补充信息 | |||||
| 转让方式: | 成熟度: | 预估价值: | |||
| 市场前景: | |||||