样品
成果详情
| 项目简介 | |||||
|---|---|---|---|---|---|
| 技术简介: | |||||
| 专利类型: | 实用新型 | 专利申请号: | CN202022125594.2 | 公开号: | CN215045726U |
| 专利权人: | 南方医科大学深圳医院 | 发明设计人: | 叶倩 | ||
| 所属领域: | |||||
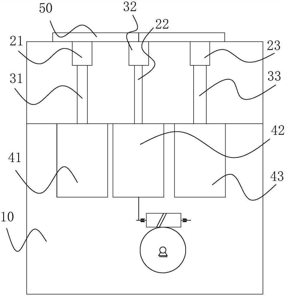
| 摘要: | 本实用新型公开了一种锐器盒,包括盒体,盒体的顶部上设有第一凹槽、第二凹槽、第三凹槽;第一针孔,与第一凹槽连通;第二针孔,与第二凹槽连通;第三针孔,与第三凹槽连通;针头回收腔,设置在盒体内,针头回收腔与第一针孔、第二针孔、第三针孔分别连通;盖子,可活动地设置在盒体上,具有打开和关闭的工作状态;此锐器盒通过设置第一凹槽、第二凹槽、第三凹槽对应规格不同的第一针孔、第二针孔、第三针孔,使锐器盒可以回收多种规格的针头,使用时只需将注射器的头部放入第一凹槽或第二凹槽或第三凹槽中,对一侧施加压力即可将针头进行分离,减少意外伤害,避免交叉感染,分离后的针头会被针头回收腔回收并集中处理,简化工作流程。 | ||||
| 补充信息 | |||||
| 转让方式: | 成熟度: | 预估价值: | |||
| 市场前景: | |||||