样品
成果详情
| 项目简介 | |||||
|---|---|---|---|---|---|
| 技术简介: | |||||
| 专利类型: | 实用新型 | 专利申请号: | CN202120301602.6 | 公开号: | CN214525987U | 
| 专利权人: | 南方医科大学南方医院 | 发明设计人: | 程艳卉;罗小琴;李园 | ||
| 所属领域: | |||||
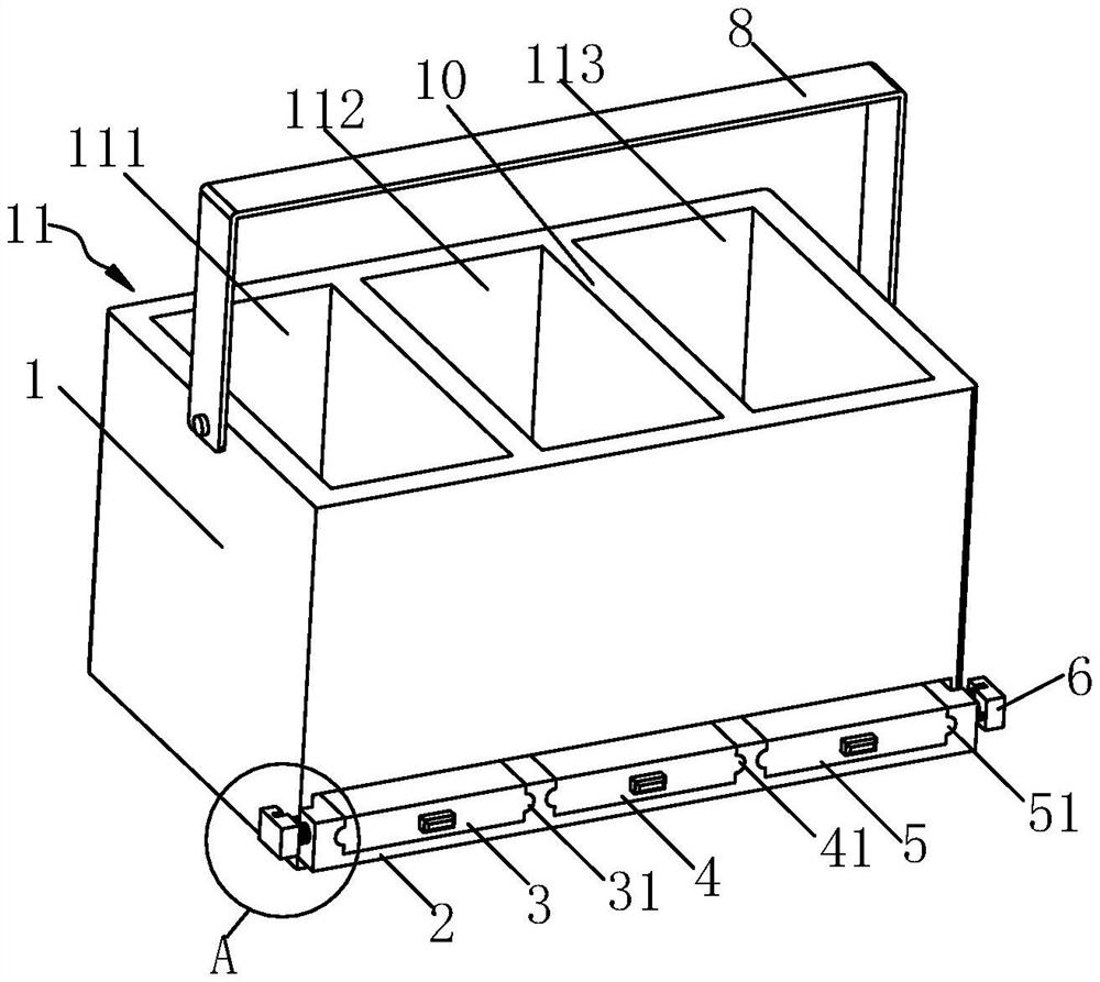
| 摘要: | 本实用新型涉及污物盒技术领域,公开了一种清理便携式污物盒,包括盒体、抽拉板腔、抽拉托架、第一抽拉盒腔、第二抽拉盒腔、第三抽拉盒腔、第一推拉盒腔、第二推拉盒腔、第三推拉盒腔、第一污物抽拉盒、第二污物抽拉盒、第三污物抽拉盒。在抽拉托架可滑动嵌插于抽拉板腔内时,第一污物抽拉盒依次滑动嵌插于第一推拉盒腔和第一抽拉盒腔内;第二污物抽拉盒依次滑动嵌插于所述第二推拉盒腔和第二抽拉盒腔内;第三污物抽拉盒依次滑动嵌插于第三推拉盒腔和第三抽拉盒腔内。本实用新型提供的清理便携式污物盒多样化设计,方便实用,操作简便,清理污物时十分方便,也可以避免用手去拿污物污染双手,甚至可以便于加快该清理便携式污物盒清洁与清洗。 | ||||
| 补充信息 | |||||
| 转让方式: | 成熟度: | 预估价值: | |||
| 市场前景: | |||||