样品
成果详情
| 项目简介 | |||||
|---|---|---|---|---|---|
| 技术简介: | |||||
| 专利类型: | 实用新型 | 专利申请号: | CN202021290744.9 | 公开号: | CN213158419U |
| 专利权人: | 南方医科大学南方医院 | 发明设计人: | 郭萍;黄榕;曾灿辉;徐丽;梅雨 | ||
| 所属领域: | |||||
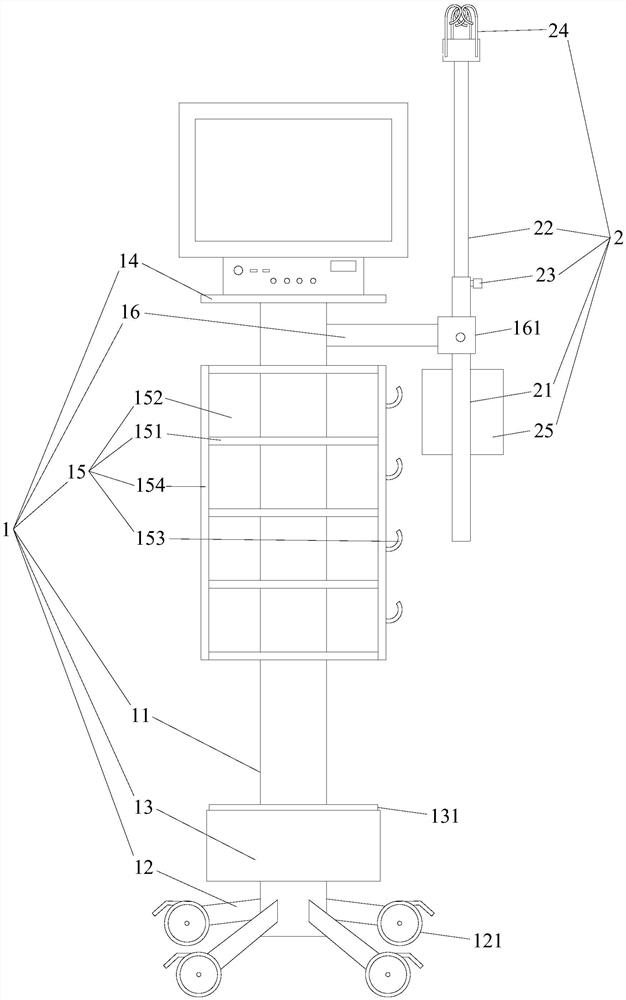
| 摘要: | 本实用新型公开了一种ICU病房多功能移动式输液收纳装置,包括输液架,还包括仪器架,所述仪器架包括立柱,立柱的下端安装有刹车式万向轮座,立柱的下端在刹车式万向轮座的上方还安装有置物框,立柱的上端安装有支撑板,立柱的中部安装有支撑架,支撑架上有上下间隔分布的五个隔板,每相邻的两个隔板之间有容纳空间,支撑架的一侧安装有上下间隔分布的四个挂钩,输液架可拆卸地安装在支撑板和支撑架之间的立柱上并且能够升降。本实用新型的ICU病房多功能移动式输液收纳装置能够使ICU病房更为整洁,而且方便移动,方便了输液用设备的使用,提高了工作效率。 | ||||
| 补充信息 | |||||
| 转让方式: | 成熟度: | 预估价值: | |||
| 市场前景: | |||||