样品
成果详情
| 项目简介 | |||||
|---|---|---|---|---|---|
| 技术简介: | |||||
| 专利类型: | 实用新型 | 专利申请号: | CN202120677472.6 | 公开号: | CN214859481U | 
| 专利权人: | 南方医科大学南方医院 | 发明设计人: | 陈乐辉;杨达敏;梁妍华;谢亭平;梁丽嫦;邓瑛瑛 | ||
| 所属领域: | |||||
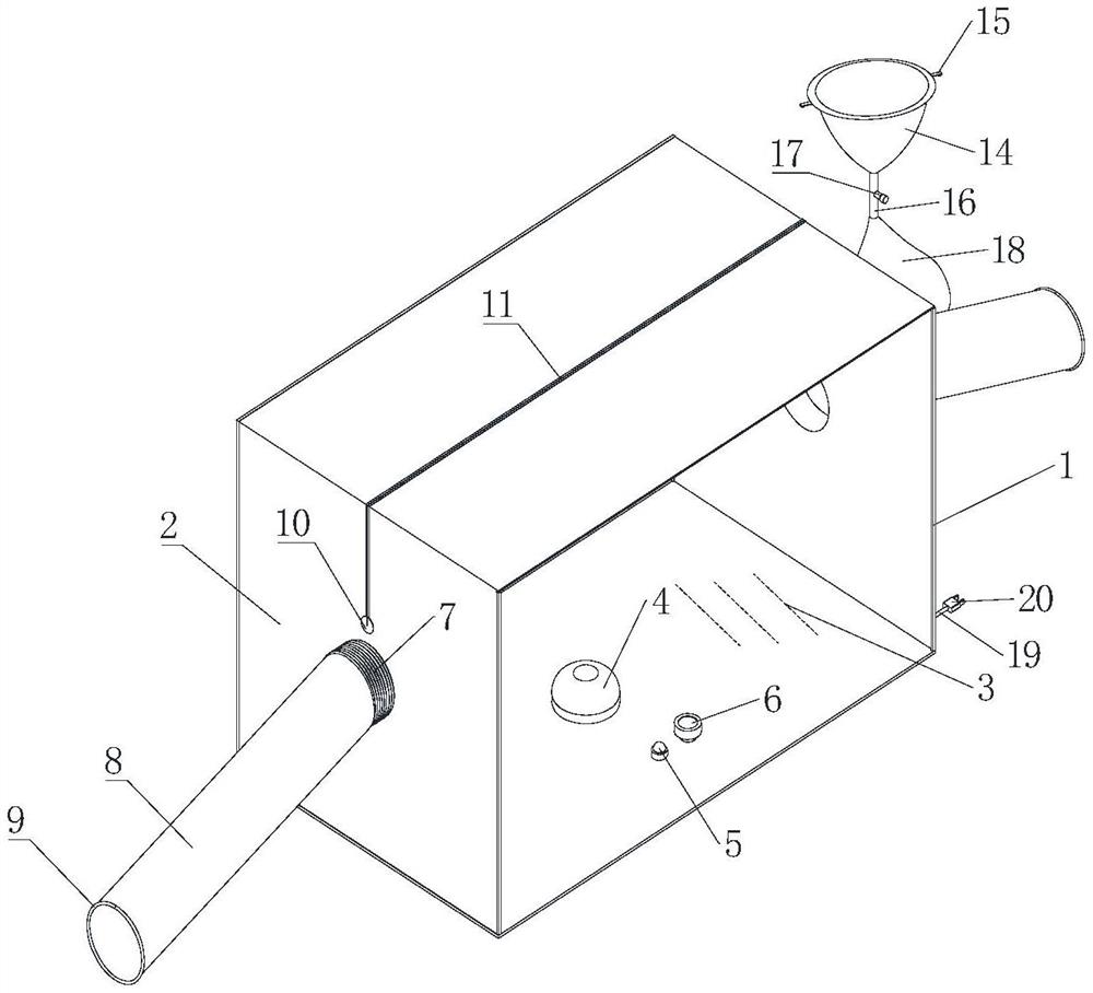
| 摘要: | 本实用新型公开了一种用于神经外科术后引流管接口的消毒装置,该装置通过在箱体的底部中央处安装了紫外灯以消毒杀死箱体内的细菌,以及在左右两侧设置了弹性海绵体、长筒袖带和松紧带,方便双手进入箱内进行操作时形成一个密闭系统,并在消毒箱内壁设置了支架和卡环,用于固定消毒杯,消毒杯下端通过出液管与引流袋连接,并在出液管上安装了活塞,为了方便打开消毒箱,在该装置中部设有一拉链用于把药液放入箱内,该装置消毒彻底,解决了当前颅内治疗传统的消毒操作过程用棉签粘取安尔碘进行三通接囗的消毒,存在不充分、不彻底,反而会引起或加重颅内感染的问题,本装置既能消毒空气又能杀灭引流管三通接口管壁的细菌,对预防或者减轻颅内感染起到了至重要作用。 | ||||
| 补充信息 | |||||
| 转让方式: | 成熟度: | 预估价值: | |||
| 市场前景: | |||||