样品
成果详情
| 项目简介 | |||||
|---|---|---|---|---|---|
| 技术简介: | |||||
| 专利类型: | 实用新型 | 专利申请号: | CN202021289505.1 | 公开号: | CN213158633U |
| 专利权人: | 南方医科大学南方医院 | 发明设计人: | 郭萍;黄榕;曾灿辉;蔡丽红;宋洁 | ||
| 所属领域: | |||||
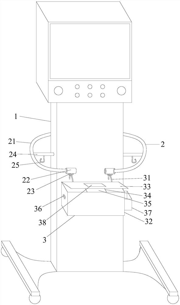
| 摘要: | 本实用新型公开了一种具有收纳功能的呼吸机装置,包括呼吸机本体,呼吸机本体上安装有推拉扶手,推拉扶手包括两个半环形杆,两个半环形杆对称分布在呼吸机本体的左右侧,各半环形杆的两端可拆卸地套装有套筒,套筒下侧有挂环,还包括用于收纳模拟肺、面罩、流量传感器的收纳盒一和用于收纳一次性呼吸回路、一次性湿热交换器、延伸管、简易呼吸气囊的收纳盒二,收纳盒一和收纳盒二对称分布在呼吸机主体前后侧且位于两个半环形杆的端部之间,收纳盒一和收纳盒二均分别有两个挂钩,收纳盒一和收纳盒二的挂钩分别挂在相应半环形杆端部套装的套筒的挂环上。本实用新型的具有收纳功能的呼吸机装置节省了物品准备时间,赢得了抢救时间,提高了工作效率。 | ||||
| 补充信息 | |||||
| 转让方式: | 成熟度: | 预估价值: | |||
| 市场前景: | |||||