样品
成果详情
| 项目简介 | |||||
|---|---|---|---|---|---|
| 技术简介: | |||||
| 专利类型: | 实用新型 | 专利申请号: | CN202021269934.2 | 公开号: | CN213031168U |
| 专利权人: | 南方医科大学珠江医院 | 发明设计人: | 田丹;边晓;王晓阳;覃爱开;罗茵;胡曼 | ||
| 所属领域: | |||||
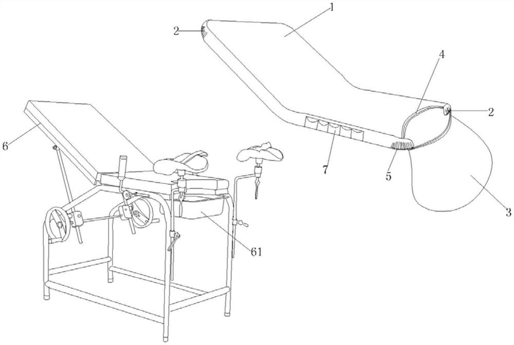
| 摘要: | 本实用新型公开了一种妇产科医用床罩,包括有罩面、固定边和收纳袋,所述固定边设于罩面的边缘处,所述收纳袋设于罩面的一端,通过固定边将罩面与产床固定,所述收纳袋位于产床的收纳槽处,通过收纳袋收集污染物,解决了分泌物、消毒冲洗液、羊水、大小便等对妇检床及地面的污染的问题,减少医院感染的发生。 | ||||
| 补充信息 | |||||
| 转让方式: | 成熟度: | 预估价值: | |||
| 市场前景: | |||||