样品
成果详情
| 项目简介 | |||||
|---|---|---|---|---|---|
| 技术简介: | |||||
| 专利类型: | 实用新型 | 专利申请号: | CN202322113703.2 | 公开号: | CN220833164U |
| 专利权人: | 南方医科大学深圳医院 | 发明设计人: | 裴振东;王红;周秋霞;朱泽阳 | ||
| 所属领域: | |||||
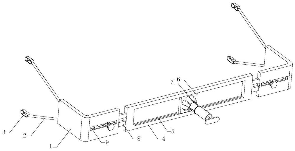
| 摘要: | 本实用新型公开了一种穿刺体位倚靠装置,具体属于胸腔穿刺技术领域,包括主支撑板、“L”型连接板以及滑动固定机构;“L”型连接板的数量为两个,“L”型连接板滑动设置在主支撑板的两端;所述滑动固定机构包括滑动块、连接绳以及固定套环,所述主支撑板中部设有滑动槽,所述滑动块滑动安装在滑动槽上,滑动块中部设有供穿刺针通过的通孔,所述连接绳的一端和滑动块相固定,另一端和固定套环相固定,穿刺针筒与固定套环中空内部相适配。该穿刺体位倚靠装置使用后,可与患者的后背贴紧,对其起到辅助固定的作用,防止术中患者体力不支而出现的后仰等情况发生。 | ||||
| 补充信息 | |||||
| 转让方式: | 成熟度: | 预估价值: | |||
| 市场前景: | |||||