样品
成果详情
| 项目简介 | |||||
|---|---|---|---|---|---|
| 技术简介: | |||||
| 专利类型: | 实用新型 | 专利申请号: | CN201922119443.3 | 公开号: | CN211164310U | 
| 专利权人: | 南方医科大学南方医院 | 发明设计人: | 吴迪;廖卫华;黄宏;方晓英 | ||
| 所属领域: | |||||
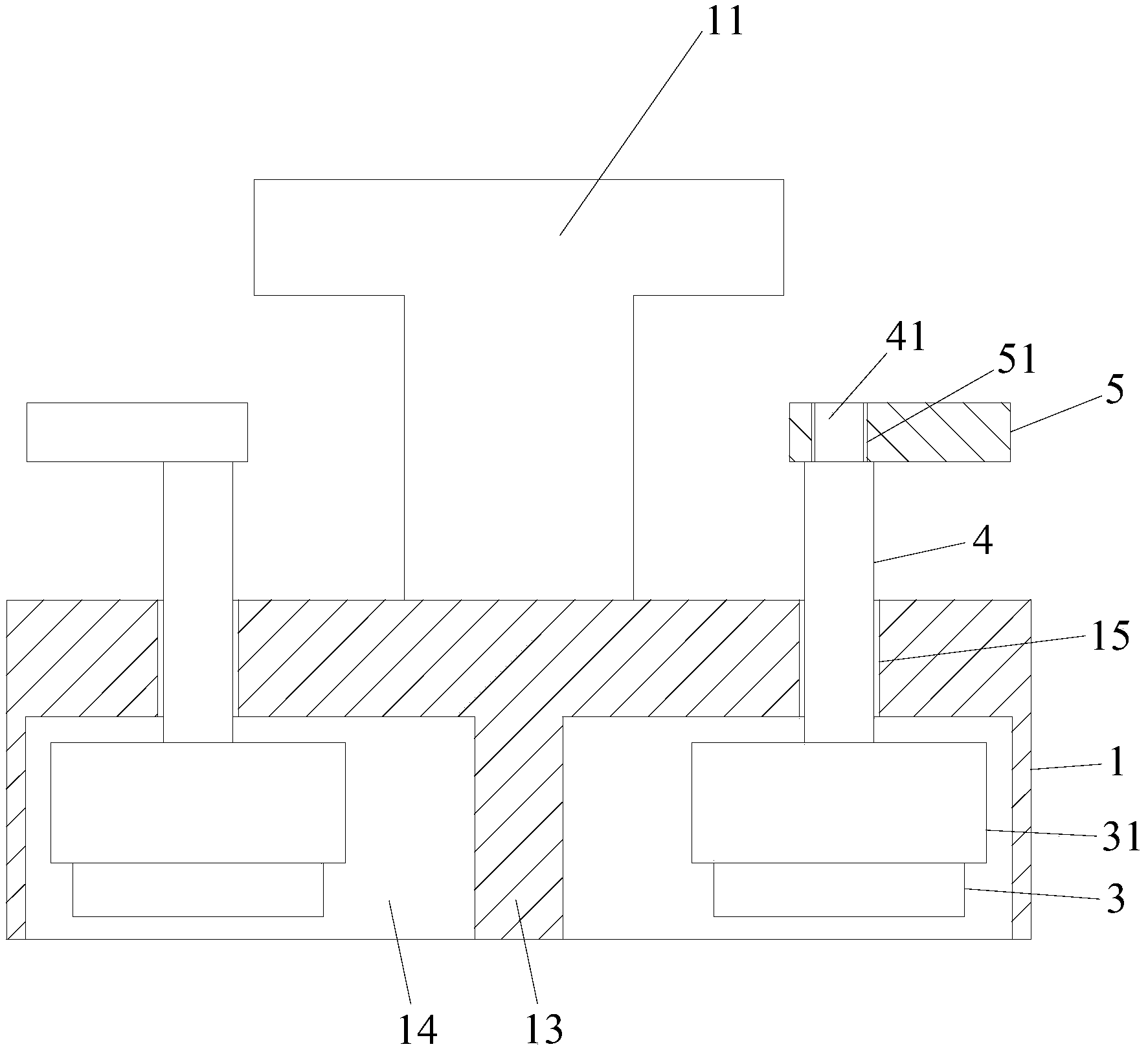
| 摘要: | 本实用新型公开了一种新生儿鼻部安普贴简便切割仪,包括壳座,壳座的上侧固定连接有手柄,壳座内安装有两种可交替自壳座底部伸出的切割刀,壳座的底部凹陷并且在凹陷处通过隔板分隔为两个容纳腔,两种切割刀分别位于相应的容纳腔内,两种切割刀的上侧分别固定连接有使切割刀伸出壳座底部的操作杆,各操作杆的上端贯穿伸出壳座的顶面并且与壳座螺纹连接。本实用新型的新生儿鼻部安普贴简便切割仪节约了医护人员的时间,降低了劳动强度。 | ||||
| 补充信息 | |||||
| 转让方式: | 成熟度: | 预估价值: | |||
| 市场前景: | |||||