样品
成果详情
| 项目简介 | |||||
|---|---|---|---|---|---|
| 技术简介: | |||||
| 专利类型: | 发明 | 专利申请号: | CN202010306877.9 | 公开号: | CN111388258A |
| 专利权人: | 南方医科大学珠江医院 | 发明设计人: | 谭峰;罗云峰;张普生;史福军;朱燕雯;张益辉;许敬萍;刘娟 | ||
| 所属领域: | |||||
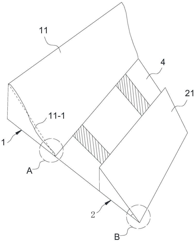
| 摘要: | 本发明公开了一种应用于腔镜乳腺癌手术的安全防护用具,包括斜坡体位垫、健侧固定垫及改良托手架;斜坡体位垫上设有第一倾斜面;健侧固定垫上设有第二倾斜面;健侧固定垫通过连接带与斜坡体位垫连接;改良托手架包括固定在手术床上的固定架和安装在固定架上的托手垫片;托手垫片包括水平垫部和屈曲垫部;屈曲垫部由水平垫部一端向下弯曲,水平垫部与屈曲垫部之间设有过渡弯曲部,水平垫部与屈曲垫部之间的夹角为100‑160°。本发明的安全防护用具与患者身体的接触面更大,减轻了机体各着力点在体位变化后所承受的异常压力,降低了损伤皮肤、神经、肌肉的风险,更适合患者生理结构。 | ||||
| 补充信息 | |||||
| 转让方式: | 成熟度: | 预估价值: | |||
| 市场前景: | |||||