样品
成果详情
| 项目简介 | |||||
|---|---|---|---|---|---|
| 技术简介: | |||||
| 专利类型: | 实用新型 | 专利申请号: | CN202121006477.2 | 公开号: | CN216136079U |
| 专利权人: | 南方医科大学珠江医院 | 发明设计人: | 张小红;余艳;邓思慧 | ||
| 所属领域: | |||||
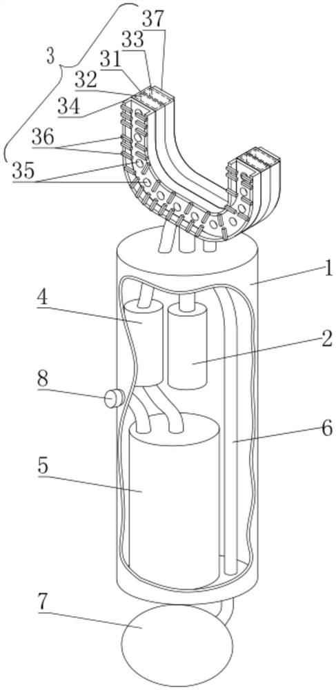
| 摘要: | 本实用新型公开了一种改良的冲洗牙刷,包括内部空腔的牙刷杆,在所述牙刷杆的空腔内设有振动电机,所述振动电机的输出轴伸出所述牙刷杆的顶部与一内部空腔的牙刷头可拆卸连接;还在所述牙刷杆的空腔内设有冲洗水泵,所述冲洗水泵的输入端通过管道与一安装在所述牙刷杆空腔内的蓄水箱连接,所述冲洗水泵的输出端通过管道与所述牙刷头连接;在所述牙刷杆的空腔内设有引流管,所述引流管的顶端伸出所述牙刷杆的顶部与所述牙刷头连接,所述引流管的底端伸出所述牙刷杆的底部与一可拆卸安装在所述牙刷杆底部的负压集水球可拆卸连接。本实用新型具有口腔护理省时省力、能够自动注水冲洗以及自动抽吸排出重症患者口腔内嗽口水的优点。 | ||||
| 补充信息 | |||||
| 转让方式: | 成熟度: | 预估价值: | |||
| 市场前景: | |||||