样品
成果详情
| 项目简介 | |||||
|---|---|---|---|---|---|
| 技术简介: | |||||
| 专利类型: | 实用新型 | 专利申请号: | CN202020740074.X | 公开号: | CN213156103U |
| 专利权人: | 南方医科大学南方医院 | 发明设计人: | 董建宇;姜珊珊;黄梓琪;叶长生;钱晓凤;胡佳华;曾晓淇 | ||
| 所属领域: | |||||
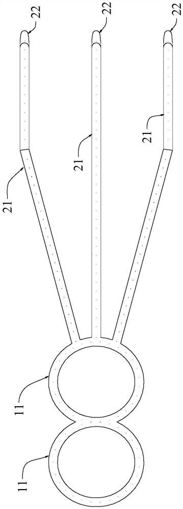
| 摘要: | 本实用新型公开了一种手术用皮肤拉钩,涉及医疗器具技术领域,包括手持部和至少一个牵拉部,手持部包括两个相连的拉环,牵拉部包括连杆和牵拉端,连杆包括第一端和第二端,第一端与其中一个拉环固定连接,牵拉端设置在连杆的第二端,所有的牵拉部呈间隔布置。该皮肤拉钩可实现多处皮肤的牵拉,增加了单个皮肤拉钩的皮肤牵拉长度,有利于医生单手完成操作,减少了对医务人员数量的要求。同时该皮肤拉钩设置两个拉环,医务人员在同时使用多个皮肤拉钩时,可以根据皮肤弧度的改变,通过选择用手指牵拉距离较远或者较近的拉环,并辅以手指的弯曲角度的变化使多把皮肤拉钩完全契合皮肤切口弧度的变化,从而使切开的皮肤被完全拉开,便于切除。 | ||||
| 补充信息 | |||||
| 转让方式: | 成熟度: | 预估价值: | |||
| 市场前景: | |||||