样品
成果详情
| 项目简介 | |||||
|---|---|---|---|---|---|
| 技术简介: | |||||
| 专利类型: | 实用新型 | 专利申请号: | CN202022134070.X | 公开号: | CN213554394U |
| 专利权人: | 南方医科大学南方医院 | 发明设计人: | 徐丽;黄榕;陈泽纯;黄少慧;郭亚云 | ||
| 所属领域: | |||||
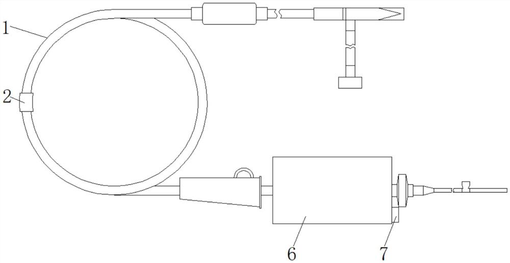
| 摘要: | 本实用新型公开了可调节长度输液器,包括输液器本体,所述输液器本体的表面活动套设有定位套,所述定位套包括连接带,所述连接带正表面的右侧和背表面的左侧分别固定连接有第一魔术贴和第二魔术贴,所述第一魔术贴和第二魔术贴相互配合使用,所述第一魔术贴和第二魔术贴均通过缝合与连接带固定连接,所述连接带由布带编织制成。本实用新型通过设置输液器本体、连接带、第一魔术贴、第二魔术贴、保温套、管盖、通槽、导热硅胶垫、金属管、热水和水管的配合使用,解决了现有的输液器不能根据使用的需要进行调节长度且不具备专用加热装置的问题,该输液器具备可根据使用的需要调节输液器使用长度的且具备专用加热装置优点。 | ||||
| 补充信息 | |||||
| 转让方式: | 成熟度: | 预估价值: | |||
| 市场前景: | |||||