样品
成果详情
| 项目简介 | |||||
|---|---|---|---|---|---|
| 技术简介: | |||||
| 专利类型: | 实用新型 | 专利申请号: | CN202022085762.X | 公开号: | CN213251627U | 
| 专利权人: | 南方医科大学南方医院 | 发明设计人: | 王秀英;黄榕;陈泽纯;陈宝梅;曾嘉 | ||
| 所属领域: | |||||
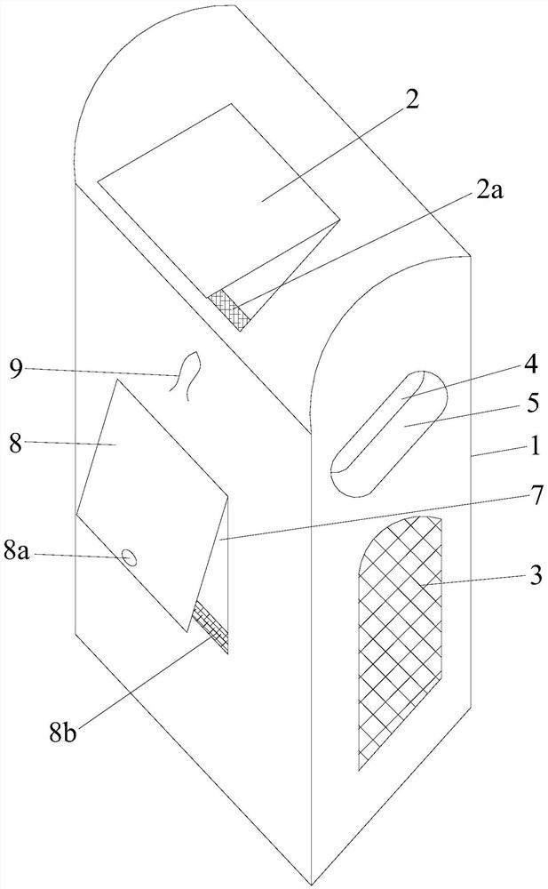
| 摘要: | 本实用新型公开了一种医用移动式空气消毒机防尘罩,包括底部敞口的罩体,所述罩体的顶部有可开合的可视窗口,罩体的左右侧和后侧均有进风孔并在各进风孔处固定有透气网,罩体的左右侧还在相应的透气网纱上方开有扶手孔,罩体的前侧开有出风口,出风口的上边固定有可上翻的遮盖片,罩体的前侧在出风口的上方固定有固定上翻后的遮盖片的系带,遮盖片的下边与罩体的前侧通过魔术贴结构粘接固定,遮盖片的下边还开有供系带穿过的开孔。本实用新型的医用移动式空气消毒机防尘罩防尘效果好,避免了滋生细菌。 | ||||
| 补充信息 | |||||
| 转让方式: | 成熟度: | 预估价值: | |||
| 市场前景: | |||||