样品
成果详情
| 项目简介 | |||||
|---|---|---|---|---|---|
| 技术简介: | |||||
| 专利类型: | 实用新型 | 专利申请号: | CN202022130708.2 | 公开号: | CN213553355U |
| 专利权人: | 南方医科大学南方医院 | 发明设计人: | 黄少慧;黄榕;徐丽;陈宝梅;郭亚云 | ||
| 所属领域: | |||||
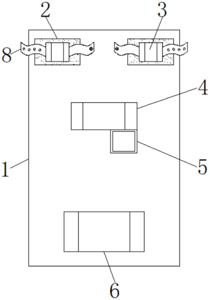
| 摘要: | 本实用新型公开了一种ERCP检查专用带垫巾体位固定枕,包括垫巾,所述垫巾前侧的顶部固定连接有第一魔术贴,所述第一魔术贴的前侧固定连接有手部固定枕,所述垫巾前侧的中部固定连接有头部固定枕,所述头部固定枕的底部固定连接有第二魔术贴。本实用新型通过设置垫巾、第一魔术贴、手部固定枕、头部固定枕、口袋式垫巾、腹部固定枕和第二魔术贴的配合使用,解决了现有的固定枕与手术用的垫巾不是一体的,容易使固定枕在垫巾表面移动,影响医生手术,而且头部固定枕下方没有口水收集垫巾,污染手术区域的问题,具备固定枕与垫巾能够固定连接,方便医生进行手术,具备口水收集垫巾,保持术区干净整洁的优点。 | ||||
| 补充信息 | |||||
| 转让方式: | 成熟度: | 预估价值: | |||
| 市场前景: | |||||